BỘ NÔNG NGHIỆP VÀ | CỘNG HÒA XÃ HỘI CHỦ NGHĨA VIỆT NAM |
Số: 4092/QĐ-BNNMT | Hà Nội, ngày 03 tháng 10 năm 2025 |
QUYẾT ĐỊNH
Ban hành quy định kỹ thuật cơ sở dữ liệu hộ nghèo, hộ cận nghèo
___________________________________
BỘ TRƯỞNG BỘ NÔNG NGHIỆP VÀ MÔI TRƯỜNG
Căn cứ Luật Dữ liệu ngày 30 tháng 11 năm 2024;
Căn cứ Luật Giao dịch điện tử ngày 22 tháng 6 năm 2023;
Căn cứ Nghị định số 35/2025/NĐ-CP ngày 25 tháng 02 năm 2025 của Chính phủ quy định chức năng, nhiệm vụ, quyền hạn và cơ cấu tổ chức của Bộ Nông nghiệp và Môi trường;
Căn cứ Nghị định số 47/2020/NĐ-CP ngày 09 tháng 4 năm 2020 của Chính phủ về quản lý, kết nối và chia sẻ dữ liệu số của cơ quan nhà nước;
Căn cứ Nghị định số 07/2021/NĐ-CP ngày 27 tháng 01 năm 2021 của Chính phủ quy định chuẩn nghèo đa chiều giai đoạn 2021-2025;
Căn cứ Nghị định số 30/2025/NĐ-CP ngày 24 tháng 02 năm 2025 của Chính phủ về sửa đổi, bổ sung một số điều của Nghị định số 07/2021/NĐ-CP ngày 27 tháng 01 năm 2021 của Chính phủ quy định chuẩn nghèo đa chiều giai đoạn 2021-2025;
Căn cứ Nghị định số 165/2025/NĐ-CP ngày 30 tháng 6 năm 2025 của Chính phủ quy định chi tiết một số điều và biện pháp thi hành Luật Dữ liệu;
Căn cứ Nghị định số 194/2025/NĐ-CP ngày 03 tháng 7 năm 2025 của Chính phủ quy định chi tiết một số điều của Luật Giao dịch điện tử về cơ sở dữ liệu quốc gia, kết nối và chia sẻ dữ liệu, dữ liệu mở phục vụ giao dịch điện tử của cơ quan nhà nước;
Căn cứ Nghị quyết 214/NQ-CP ngày 23 tháng 7 năm 2025 của Chính phủ ban hành Kế hoạch hành động về thúc đẩy tạo lập dữ liệu phục vụ chuyển đổi số toàn diện;
Căn cứ Quyết định số 24/2021/QĐ-TTg ngày 16 tháng 7 năm 2021 của Thủ tướng Chính phủ quy định quy trình rà soát hộ nghèo, hộ cận nghèo hằng năm và quy trình xác định hộ làm nông nghiệp, lâm nghiệp, ngư nghiệp và diêm nghiệp có mức sống trung bình giai đoạn 2022-2025;
Theo đề nghị của Chánh Văn phòng Quốc gia về giảm nghèo, Cục trưởng Cục Chuyển đổi số.
QUYẾT ĐỊNH:
Điều 1. Ban hành kèm theo Quyết định này Quy định kỹ thuật Cơ sở dữ liệu hộ nghèo, hộ cận nghèo.
Điều 2. Điều khoản thi hành
1. Quyết định này có hiệu lực kể từ ngày ký ban hành.
2. Chánh Văn phòng Bộ, Chánh Văn phòng Quốc gia về giảm nghèo, Cục trưởng Cục Chuyển đổi số, Thủ trưởng các đơn vị trực thuộc Bộ, Giám đốc Sở Nông nghiệp và Môi trường các tỉnh, thành phố trực thuộc Trung ương và các tổ chức, cá nhân có liên quan chịu trách nhiệm thi hành Quyết định này./.
| Q. BỘ TRƯỞNG |
QUY ĐỊNH KỸ THUẬT CƠ SỞ DỮ LIỆU HỘ NGHÈO, HỘ CẬN NGHÈO
(Ban hành kèm theo Quyết định số 4092/QĐ-BNNMT ngày 03 tháng 10 năm 2025 của Bộ trưởng Bộ Nông nghiệp và Môi trường)
________________________________________
Chương I
QUY ĐỊNH CHUNG
Điều 1. Phạm vi điều chỉnh
Quy định này quy định về kiến trúc, mô hình, cấu trúc, nội dung cơ sở dữ liệu; về thu thập, quản lý, lưu trữ, kết nối, chia sẻ, khai thác sử dụng dữ liệu và bảo đảm an toàn, bảo mật cơ sở dữ liệu hộ nghèo, hộ cận nghèo.
Điều 2. Đối tượng áp dụng
Quy định này áp dụng đối với Văn phòng Quốc gia về giảm nghèo, các cơ quan nhà nước, các tổ chức, cá nhân có liên quan đến việc thu thập, xây dựng, cập nhật, lưu trữ, quản lý, vận hành, kết nối, chia sẻ, cung cấp, khai thác sử dụng dữ liệu và bảo đảm an toàn, bảo mật cơ sở dữ liệu hộ nghèo, hộ cận nghèo.
Điều 3. Giải thích từ ngữ
1. Dữ liệu chủ là dữ liệu chứa mã định danh đối tượng và thông tin cơ bản nhất để mô tả một đối tượng cụ thể, làm cơ sở để tham chiếu, đồng bộ giữa các cơ sở dữ liệu hoặc các tập dữ liệu khác nhau. Dữ liệu chủ thuộc cơ sở dữ liệu quốc gia, của bộ, ngành, địa phương được sử dụng thống nhất, xuyên suốt và tham chiếu, đồng bộ giữa các cơ sở dữ liệu, tập dữ liệu trong bộ, ngành, địa phương đó.
2. Dữ liệu mở là dữ liệu mà mọi cơ quan, tổ chức, cá nhân có nhu cầu đều được tiếp cận, chia sẻ, khai thác, sử dụng. Dữ liệu mở của cơ quan nhà nước là dữ liệu không thuộc diện bị cấm công khai do liên quan đến an ninh quốc gia, quyền riêng tư, bí mật thương mại hoặc các lý do khác theo quy định của pháp luật được cơ quan nhà nước có thẩm quyền công bố rộng rãi cho mọi cơ quan, tổ chức, cá nhân có nhu cầu đều được tiếp cận, tự do khai thác, sử dụng, tái sử dụng, chia sẻ.
3. Dữ liệu danh mục dùng chung là dữ liệu về các danh mục, bảng mã phân loại do cơ quan nhà nước có thẩm quyền ban hành, được sử dụng chung trong các hệ thống thông tin, cơ sở dữ liệu bảo đảm việc tích hợp, trao đổi, chia sẻ dữ liệu đồng bộ, thống nhất.
4. Hệ thống quản lý dịch vụ chia sẻ dữ liệu là hệ thống thông tin quản lý tập trung danh mục các dịch vụ chia sẻ dữ liệu của các cơ quan nhà nước do Bộ Khoa học và Công nghệ thống nhất xây dựng và quản lý để cung cấp cho các cơ quan nhà nước khai thác, sử dụng.
5. Cấu trúc dữ liệu trao đổi là cấu trúc của thông điệp dữ liệu được trao đổi giữa các hệ thống thông tin, cơ sở dữ liệu.
6. Dịch vụ chia sẻ dữ liệu là các dịch vụ cung cấp, chia sẻ dữ liệu cho cơ quan, tổ chức, cá nhân khai thác hoặc thu nhận dữ liệu từ các cơ quan, tổ chức, cá nhân qua các hệ thống thông tin. Trong hệ thống thông tin, dịch vụ chia sẻ dữ liệu là giao diện tương tác của phần mềm phục vụ tiếp nhận kết nối và trao đổi các thông điệp dữ liệu với các hệ thống bên ngoài.
7. Agent Node là thành phần của Nền tảng chia sẻ, điều phối dữ liệu có chức năng bảo mật điểm kết nối phục vụ trao đổi, chia sẻ dữ liệu giữa các cơ sở dữ liệu, hệ thống thông tin.
8. Kết nối, chia sẻ dữ liệu bắt buộc là việc thiết lập kết nối kỹ thuật bắt buộc giữa các hệ thống thông tin, cơ sở dữ liệu trong hệ thống chính trị nhằm chia sẻ, khai thác và sử dụng dữ liệu đã được phân quyền theo quy định, không phụ thuộc vào thỏa thuận riêng giữa các cơ quan, tổ chức.
9. Chia sẻ dữ liệu theo yêu cầu là hình thức chia sẻ dữ liệu cho cơ quan nhà nước khác sử dụng theo yêu cầu riêng đối với dữ liệu không được sử dụng thông dụng bởi nhiều cơ quan nhà nước khác nhau; việc chia sẻ dữ liệu theo hình thức này cần thực hiện các hoạt động phối hợp của các bên về mặt kỹ thuật để chuẩn bị về mặt hạ tầng, kỹ thuật, công nghệ để xử lý hoặc tạo ra dữ liệu phục vụ chia sẻ dữ liệu.
10. XML (eXtensible Markup Language - ngôn ngữ đánh dấu mở rộng) là một định dạng chuẩn để mã hóa dữ liệu phục vụ trao đổi dữ liệu.
11. GML (Geography Markup Language - ngôn ngữ đánh dấu địa lý mở rộng) là một định dạng chuẩn để mã hóa dữ liệu không gian phục vụ trao đổi dữ liệu.
12. JSON (JavaScript Object Notation - kiểu dữ liệu trao đổi) là một định dạng dữ liệu dựa trên văn bản được mã hóa để phục vụ trao đổi dữ liệu.
13. GeoJSON (Geographic JavaScript Object Notation - kiểu dữ liệu trao đổi các đối tượng địa lý) là một định dạng chuẩn để mã hóa các cấu trúc dữ liệu địa lý phục vụ trao đổi dữ liệu.
14. Dữ liệu hộ nghèo là thông tin của từng hộ gia đình được xác định là hộ nghèo theo chuẩn nghèo đa chiều theo quy định của Nhà nước.
15. Dữ liệu hộ cận nghèo là thông tin của từng hộ gia đình được xác định là hộ cận nghèo theo chuẩn nghèo đa chiều theo quy định của Nhà nước.
16. Nghèo đa chiều là tình trạng nghèo được xác định không chỉ dựa trên thu nhập mà còn dựa trên sự thiếu hụt trong các chiều cơ bản của đời sống như: y tế, giáo dục, nhà ở, nước sạch, vệ sinh, thông tin, tiếp cận dịch vụ xã hội. Nghèo đa chiều phản ánh toàn diện hơn mức sống và khả năng tiếp cận cơ hội phát triển của hộ gia đình.
17. Chỉ số nghèo đa chiều (MPI - Multidimensional Poverty Index) là chỉ số tổng hợp phản ánh mức độ thiếu hụt của hộ gia đình hoặc cá nhân trên nhiều chiều cơ bản của đời sống. MPI được sử dụng để xác định, theo dõi, đánh giá tình trạng nghèo và mức độ giảm nghèo một cách toàn diện.
18. Tính dễ bị tổn thương của hộ nghèo, hộ cận nghèo (Vulnerability of poor households) là mức độ rủi ro mà hộ nghèo hoặc cận nghèo phải đối mặt khi có biến cố bất lợi (thiên tai, dịch bệnh, mất việc làm, khủng hoảng kinh tế, biến đổi khí hậu....), có thể dẫn đến giảm sút nghiêm trọng điều kiện sống hoặc tái nghèo.
19. Dữ liệu dễ bị tổn thương là tập hợp thông tin hộ nghèo, hộ cận nghèo chịu tác động từ thiên tai (hạn hán, lũ, sạt lở).
Chương II
KIẾN TRÚC MÔ HÌNH, NỘI DUNG, CẤU TRÚC CƠ SỞ DỮ LIỆU
Điều 4. Kiến trúc cơ sở dữ liệu hộ nghèo, hộ cận nghèo
Kiến trúc cơ sở dữ liệu hộ nghèo, hộ cận nghèo như sau:

Điều 5. Thành phần, quản lý cơ sở dữ liệu hộ nghèo, hộ cận nghèo
1. Cơ sở dữ liệu hộ nghèo, hộ cận nghèo bao gồm cơ sở dữ liệu tổng hợp về hộ nghèo, hộ cận nghèo cấp Trung ương và các cơ sở dữ liệu hộ nghèo, hộ cận nghèo tại địa phương.
2. Cơ sở dữ liệu tổng hợp về hộ nghèo, hộ cận nghèo cấp Trung ương (tại Bộ Nông nghiệp và Môi trường) do Văn phòng Quốc gia về giảm nghèo quản lý, duy trì, vận hành, gồm:
a) Dữ liệu tổng hợp về hộ nghèo, hộ cận nghèo trên phạm vi toàn quốc;
b) Dữ liệu mở về hộ nghèo, hộ cận nghèo;
c) Siêu dữ liệu (Metadata) mô tả nguồn gốc, cấu trúc, chuẩn kỹ thuật;
d) Dữ liệu danh mục dùng chung.
3. Cơ sở dữ liệu hộ nghèo, hộ cận nghèo tại địa phương do Ủy ban nhân dân các tỉnh, thành phố (Sở Nông nghiệp và Môi trường) quản lý, xây dựng và vận hành theo quy định kỹ thuật, tiêu chuẩn, quy chuẩn kỹ thuật, bảo đảm kết nối, chia sẻ, đồng bộ với cơ sở dữ liệu cấp Trung ương.
4. Danh mục dữ liệu chủ
a) Dữ liệu về rà soát hộ nghèo, hộ cận nghèo;
b) Dữ liệu tổng hợp hộ nghèo, hộ cận nghèo cấp vùng;
c) Dữ liệu tổng hợp hộ nghèo, hộ cận nghèo cấp đơn vị hành chính.
Điều 6. Nội dung cơ sở dữ liệu hộ nghèo, hộ cận nghèo
1. Dữ liệu thuộc tính
a) Thông tin định danh hộ nghèo, hộ cận nghèo;
b) Các chỉ tiêu kinh tế, xã hội, y tế, giáo dục liên quan đến tình trạng hộ nghèo, hộ cận nghèo;
c) Thông tin kết quả rà soát, cập nhật hàng năm, bảo đảm tính thời gian;
d) Các bảng dữ liệu tổng hợp, dữ liệu mở phục vụ báo cáo, thống kê, phân tích.
2. Dữ liệu không gian
a) Vị trí phân bố hộ nghèo, hộ cận nghèo theo đơn vị hành chính, khu vực dân cư;
b) Các lớp dữ liệu GIS liên quan đến hạ tầng xã hội, điều kiện kinh tế - xã hội, thông tin phân tích dự báo thiệt hại do thiên tai (hạn hán, ngập lụt, xâm nhập mặn, xạt lở...) phục vụ phân tích, đánh giá.
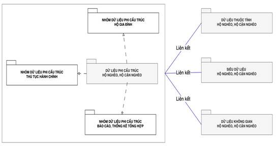
3. Dữ liệu phi cấu trúc
a) Hồ sơ, tài liệu, biểu mẫu điện tử liên quan đến hộ nghèo, hộ cận nghèo;
b) Hình ảnh, tệp tin đa phương tiện phục vụ xác minh, minh chứng;
c) Dữ liệu trao đổi qua dịch vụ số, tin nhắn, văn bản điện tử.
4. Yêu cầu kỹ thuật
a) Dữ liệu được quản lý theo chuẩn mô hình quan hệ hoặc NoSQL phù hợp tính chất từng loại dữ liệu;
b) Định dạng trao đổi tuân thủ các chuẩn mở (XML, JSON, GeoJSON, CSV, API RESTful, OGC);
c) Có siêu dữ liệu (metadata) kèm theo, được mô tả theo chuẩn DCAT-AP hoặc tương đương;
d) Bảo đảm khả năng tích hợp, chia sẻ qua Nền tảng chia sẻ, điều phối dữ liệu quốc gia (NDOP).
Điều 7. Mô hình cấu trúc cơ sở dữ liệu hộ nghèo, hộ cận nghèo
Cấu trúc, kiểu thông tin của các dữ liệu, tài liệu của cơ sở dữ liệu hộ nghèo, hộ cận nghèo được quy định tại Phụ lục ban hành kèm theo Quy định này.
Điều 8. Hệ quy chiếu không gian và thời gian
1. Cơ sở dữ liệu hộ nghèo, hộ cận nghèo được xây dựng theo quy định Hệ quy chiếu và hệ tọa độ quốc gia VN-2000.
2. Hệ quy chiếu thời gian: Ngày, tháng, năm theo Dương lịch; giờ, phút, giây theo múi giờ UTC + 07:00 (Coordinated Universal Time).
Điều 9. Siêu dữ liệu
1. Siêu dữ liệu hộ nghèo, hộ cận nghèo gồm các thông tin mô tả về dữ liệu của các cơ sở dữ liệu hộ nghèo, hộ cận nghèo quy định tại các Điều 6 Quy định này.
2. Siêu dữ liệu hộ nghèo, hộ cận nghèo bao gồm các nhóm thông tin sau đây:
a) Nhóm thông tin mô tả siêu dữ liệu hộ nghèo, hộ cận nghèo;
b) Nhóm thông tin mô tả về tọa độ mặt phẳng trên hệ tọa độ VN2000 (kinh tuyến trục, múi chiếu);
b) Nhóm thông tin mô tả dữ liệu hộ nghèo, hộ cận nghèo;
c) Nhóm thông tin mô tả chất lượng dữ liệu hộ nghèo, hộ cận nghèo;
d) Nhóm thông tin mô tả phương pháp và quy trình phân phối dữ liệu hộ nghèo, hộ cận nghèo.
3. Siêu dữ liệu hộ nghèo, hộ cận nghèo được lập, cập nhật trong phạm vi xây dựng cơ sở dữ liệu hộ nghèo, hộ cận nghèo đã được phê duyệt và khi có biến động về dữ liệu.
4. Siêu dữ liệu hộ nghèo, hộ cận nghèo phải được mã hóa bằng XML.
5. Cấu trúc và kiểu thông tin của siêu dữ liệu hộ nghèo, hộ cận nghèo được quy định tại Phụ lục ban hành kèm theo Quy định này.
Chương III
THU THẬP, THU NHẬN, QUẢN LÝ, LƯU TRỮ DỮ LIỆU
Điều 10. Nguyên tắc, yêu cầu thu thập, thu nhận, quản lý, lưu trữ dữ liệu
1. Việc thu thập, thu nhận dữ liệu phải đúng mục đích, đầy đủ, chính xác, kịp thời và tuân thủ quy định của pháp luật.
2. Dữ liệu phải được quản lý thống nhất, bảo đảm an toàn, bảo mật, tránh thất thoát, sai lệch.
3. Việc lưu trữ dữ liệu thực hiện theo thời hạn, hình thức và quy định hiện hành; bảo đảm khả năng tra cứu, khai thác, chia sẻ khi có yêu cầu hợp pháp.
Điều 11. Thông tin, dữ liệu thu thập, thu nhận, tạo lập, cập nhật
Thông tin, dữ liệu được thu thập, cập nhật từ các nguồn sau:
1. Thu thập, cập nhật từ hoạt động điều tra, khảo sát theo quy định chuyên ngành.
2. Từ số hóa, chuẩn hóa thông tin từ hồ sơ giải quyết thủ tục hành chính
Điều 12. Tần suất, thời gian, phương thức thu thập, thu nhận, cập nhật dữ liệu
1. Phương pháp thu thập
a) Thu thập thông tin theo phương pháp khảo sát hộ nghèo, hộ cận nghèo của các hộ gia đình để ước lượng thu nhập và xác định mức độ thiếu hụt các dịch vụ xã hội cơ bản của hộ nghèo, hộ cận nghèo bảo đảm phù hợp với chuẩn nghèo theo quy định hiện hành của Nhà nước.
b) Ủy ban nhân dân các tỉnh, thành phố tổ chức thực hiện thu thập, cập nhật dữ liệu thông tin hộ nghèo, hộ cận nghèo.
2. Thời gian, tần suất rà soát, cập nhật dữ liệu hộ nghèo, hộ cận nghèo
a) Định kỳ theo năm: 01 lần, thực hiện từ ngày 01 tháng 9 đến hết ngày 14 tháng 12 của năm.
b) Thường xuyên hàng năm: mỗi tháng 01 lần, thực hiện từ ngày 15 hàng tháng.
3. Thời gian thu thập, cập nhật dữ liệu xác định hộ làm nông nghiệp, lâm nghiệp, ngư nghiệp và diêm nghiệp có mức sống trung bình thực hiện từ ngày 15 hằng tháng.
4. Thời gian tổng hợp
a) Ngày 05 hàng tháng (từ tháng 02 đến tháng 9), tổng hợp từ cấp xã lên cấp tỉnh.
b) Trước ngày 15 tháng 11 hàng năm, tổng hợp từ cấp sở lên cấp Trung ương.
c) Trước ngày 20 tháng 12 hàng năm, Chủ tịch Ủy ban nhân dân cấp tỉnh báo cáo chính thức kết quả rà soát hộ nghèo, hộ cận nghèo định kỳ hằng năm trên địa bàn về Bộ Nông nghiệp và Môi trường (Văn phòng Quốc gia về giảm nghèo).
Chương IV
KẾT NỐI, CHIA SẺ, KHAI THÁC, SỬ DỤNG THÔNG TIN, DỮ LIỆU
Mục 1.
KẾT NỐI, CHIA SẺ DỮ LIỆU
Điều 13. Nguyên tắc kết nối, chia sẻ dữ liệu
1. Bảo đảm tuân thủ các quy định của pháp luật về dữ liệu, an toàn thông tin mạng, an ninh mạng, bảo vệ dữ liệu cá nhân, các quy định có liên quan của pháp luật chuyên ngành và các quy định sau:
a) Chủ quản hệ thống thông tin tham gia vào quá trình kết nối, chia sẻ, khai thác, sử dụng dữ liệu hộ nghèo, hộ cận nghèo chịu trách nhiệm đảm bảo an toàn, an ninh thông tin khi dữ liệu được quản lý, lưu trữ, xử lý, truyền tải trên hệ thống của mình;
b) Cơ quan khai thác dữ liệu hộ nghèo, hộ cận nghèo có trách nhiệm bảo đảm an toàn, an ninh thông tin khi kết nối, tiếp nhận dữ liệu chia sẻ theo quy định của cơ quan cung cấp dữ liệu và các quy định của pháp luật.
2. Tuân thủ các nguyên tắc chung về kết nối, chia sẻ dữ liệu bắt buộc giữa các cơ quan nhà nước trong hệ thống chính trị, về kết nối, chia sẻ dữ liệu trong giao dịch điện tử của cơ quan nhà nước.
3. Tuân thủ đầy đủ Kiến trúc Chính phủ số do Bộ Nông nghiệp và Môi trường ban hành.
4. Bảo đảm tính chính xác, kịp thời, minh bạch; chịu trách nhiệm về tính hợp pháp và chất lượng dữ liệu cung cấp, chia sẻ.
5. Bảo đảm hiệu quả, đơn giản, thuận tiện cho cơ quan, tổ chức, cá nhân trong thực hiện thủ tục hành chính, dịch vụ công và các hoạt động khác.
Điều 14. Dữ liệu bắt buộc kết nối, chia sẻ
1. Dữ liệu hộ nghèo, hộ cận nghèo phải kết nối chia sẻ, bao gồm:
a) Dữ liệu chủ, dữ liệu dùng chung về hộ nghèo, hộ cận nghèo quy định tại Quy định này.
b) Dữ liệu mở về hộ nghèo, hộ cận nghèo thuộc danh mục dữ liệu mở do Bộ Nông nghiệp và Môi trường ban hành.
c) Thông tin thống kê về số lượng, tỷ lệ hộ nghèo, hộ cận nghèo theo địa bàn hành chính.
d) Chỉ tiêu về biến động, xu hướng, nguyên nhân phát sinh, thoát nghèo.
đ) Thông tin phục vụ công tác báo cáo, hoạch định chính sách, không bao gồm dữ liệu cá nhân cụ thể.
2. Dữ liệu bắt buộc kết nối, chia sẻ thuộc phạm vi bí mật nhà nước được kết nối, chia sẻ theo quy định của pháp luật về bảo vệ bí mật nhà nước.
Điều 15. Chia sẻ dữ liệu theo yêu cầu
1. Nguyên tắc chia sẻ dữ liệu theo yêu cầu tuân thủ các quy định tại Điều 36 Nghị định số 47/2020/NĐ-CP ngày 09 tháng 4 năm 2020 của Chính phủ về việc quản lý, kết nối và chia sẻ dữ liệu số của cơ quan nhà nước (Nghị định số 47/2020/NĐ-CP).
2. Cơ quan cung cấp dữ liệu và cơ quan khai thác sử dụng dữ liệu hộ nghèo, hộ cận nghèo có trách nhiệm phối hợp thực hiện các nội dung sau:
a) Rà soát nhu cầu, quy định, điều kiện cần thiết và các hoạt động cần thực hiện để kết nối và chia sẻ dữ liệu.
b) Phối hợp xây dựng dự thảo nội dung thống nhất chia sẻ dữ liệu.
c) Xác nhận nội dung thống nhất chia sẻ dữ liệu.
d) Triển khai thực hiện theo các nội dung thống nhất chia sẻ dữ liệu.
d) Triển khai thực hiện theo các nội dung thống nhất chia sẻ dữ liệu theo quy định tại Điều 38 Nghị định số 47/2020/NĐ-CP.
3. Thực hiện kết nối, chia sẻ dữ liệu, khai thác và sử dụng dữ liệu theo các nội dung chia sẻ dữ liệu đã được cơ quan cung cấp dữ liệu và cơ quan khai thác dữ liệu thống nhất. Trong quá trình triển khai thực hiện có sự thay đổi về nội dung thống nhất phải tiến hành cập nhật lại các nội dung này để làm cơ sở theo dõi, giám sát và xử lý các vướng mắc phát sinh.
Điều 16. Mô hình kết nối, chia sẻ dữ liệu
1. Kết nối, chia sẻ, đồng bộ, tổng hợp dữ liệu hộ nghèo, hộ cận nghèo từ địa phương với trung ương (Bộ Nông nghiệp và Môi trường) qua Nền tảng tích hợp, chia sẻ dữ liệu của Bộ Nông nghiệp và Môi trường, ngành nông nghiệp và môi trường.
2. Kết nối, chia sẻ sử dụng dữ liệu với các cơ quan trong hệ thống chính trị; tổ chức, cá nhân qua Nền tảng tích hợp, chia sẻ dữ liệu của Bộ Nông nghiệp và Môi trường, Nền tảng kết nối, chia sẻ dữ liệu cấp bộ, cấp tỉnh và Nền tảng tích hợp, chia sẻ dữ liệu quốc gia, với Nền tảng chia sẻ, điều phối dữ liệu của Trung tâm dữ liệu quốc gia thông qua Agent Node đặt tại Bộ Nông nghiệp và Môi trường.
3. Kết nối, chia sẻ dữ liệu hộ nghèo, hộ cận nghèo trực tiếp với các hệ thống thông tin, cơ sở dữ liệu.
Điều 17. Phương thức kết nối, chia sẻ dữ liệu
1. Phương thức kết nối, chia sẻ dữ liệu bao gồm:
a) Kết nối, chia sẻ dữ liệu trực tuyến trên môi trường mạng bằng việc đồng bộ toàn bộ hoặc một phần dữ liệu giữa cơ sở dữ liệu hộ nghèo, hộ cận nghèo từ trung ương lên địa phương, với các cơ sở dữ liệu quốc gia, chuyên ngành liên quan về nông nghiệp và môi trường, với Trung tâm dữ liệu quốc gia, các hệ thống cơ sở dữ liệu quốc gia khác, cơ sở dữ liệu của các Bộ, ngành, địa phương.
b) Chia sẻ dữ liệu được đóng gói và lưu giữ trên các phương tiện lưu trữ thông tin.
2. Khuyến khích áp dụng phương thức chia sẻ dữ liệu được quy định tại điểm a khoản 1 Điều này.
3. Đối với phương thức chia sẻ dữ liệu được quy định tại điểm a khoản 1 Điều này, việc chia sẻ dữ liệu được xác định liên tục theo thời hạn hoặc không xác định thời hạn kể từ khi đơn vị vận hành cơ sở dữ liệu hộ nghèo, hộ cận nghèo chấp nhận chia sẻ dữ liệu.
4. Dữ liệu về hộ nghèo, hộ cận nghèo và siêu dữ liệu về hộ nghèo, hộ cận nghèo được trao đổi, chia sẻ dưới dạng tệp dữ liệu thông qua các dịch vụ trao đổi, chia sẻ dữ liệu hoặc các thiết bị lưu trữ.
5. Chuẩn định dạng dữ liệu sử dụng trong trao đổi, chia sẻ thông tin, dữ liệu về hộ nghèo, hộ cận nghèo:
a) Đối với dữ liệu không gian về hộ nghèo, hộ cận nghèo áp dụng theo theo ngôn ngữ định dạng GML hoặc định dạng GeoJSON;
b) Đối với dữ liệu thuộc tính về hộ nghèo, hộ cận nghèo áp dụng theo ngôn ngữ định dạng mở rộng XML hoặc định dạng JSON;
c) Đối với dữ liệu phi cấu trúc về hộ nghèo, hộ cận nghèo theo định dạng đã được lưu trữ trong cơ sở dữ liệu.
Điều 18. Dịch vụ kết nối, chia sẻ dữ liệu
1. Xây dựng, thiết lập dịch vụ kết nối, chia sẻ dữ liệu
a) Việc kết nối, chia sẻ và khai thác, sử dụng dữ liệu về hộ nghèo, hộ cận nghèo giữa các hệ thống thông tin, cơ sở dữ liệu phải thực hiện qua các dịch vụ kết nối, chia sẻ dữ liệu.
b) Đơn vị vận hành cơ sở dữ liệu hộ nghèo, hộ cận nghèo có trách nhiệm xây dựng, thiết lập các dịch vụ kết nối, chia sẻ dữ liệu và cung cấp các tài liệu kỹ thuật, hướng dẫn sử dụng nhằm phục vụ mục đích kết nối, chia sẻ dữ liệu hộ nghèo, hộ cận nghèo được ổn định, thông suốt và đảm bảo an toàn thông tin.
c) Nội dung thông tin về dịch vụ kết nối, chia sẻ dữ liệu bao gồm:
- Danh sách dịch vụ kết nối, chia sẻ dữ liệu và thông số, tài liệu kỹ thuật, hướng dẫn sử dụng (nếu có) kèm theo;
- Cấu trúc dữ liệu trao đổi của dữ liệu được chia sẻ theo các tiêu chuẩn, quy chuẩn kỹ thuật hiện hành;
- Các thông tin cần thiết khác về dịch vụ kết nối, chia sẻ dữ liệu mà đơn vị vận hành cơ sở dữ liệu hộ nghèo, hộ cận nghèo sẽ cung cấp cho cơ quan, tổ chức, cá nhân khai thác, sử dụng dữ liệu để tạo thuận lợi cho việc tiếp cận, kết nối và sử dụng dịch vụ kết nối, chia sẻ dữ liệu.
2. Phân loại dịch vụ kết nối chia sẻ dữ liệu
a) Dịch vụ dữ liệu công khai: cung cấp dữ liệu mở, không yêu cầu xác thực, áp dụng đối với dữ liệu đã được công bố theo danh mục dữ liệu mở.
b) Dịch vụ dữ liệu dùng chung: chia sẻ dữ liệu có phân quyền giữa các cơ quan, tổ chức được ủy quyền theo quy định pháp luật và thỏa thuận phối hợp.
c) Dịch vụ truy cập theo yêu cầu: cung cấp dữ liệu theo từng trường hợp cụ thể, yêu cầu đăng ký, phê duyệt và kiểm soát truy cập chặt chẽ.
d) Dịch vụ chia sẻ dữ liệu định kỳ (hằng ngày, tuần, tháng ........): thực hiện tự động qua kênh kết nối đã được cấu hình trước.
đ) Dịch vụ truy vấn dữ liệu động: cho phép truy cập và khai thác dữ liệu theo tham số thông qua giao diện lập trình ứng dụng (API) và các ứng dụng công nghệ thông tin khác.
3. Công bố dịch vụ kết nối, chia sẻ dữ liệu
a) Đơn vị vận hành cơ sở dữ liệu hộ nghèo, hộ cận nghèo chịu trách nhiệm đăng tải công khai, cập nhật (khi có thay đổi) thông tin về dịch vụ kết nối, chia sẻ dữ liệu trên Hệ thống quản lý dịch vụ chia sẻ dữ liệu; quản lý danh mục các dịch vụ kết nối, chia sẻ dữ liệu và các thông tin, tài liệu liên quan đi kèm; tiếp nhận, xử lý các yêu cầu, đề nghị, kiến nghị của các cơ quan, tổ chức, cá nhân khai thác sử dụng, dữ liệu.
b) Cục Chuyển đổi số - Bộ Nông nghiệp và Môi trường hỗ trợ đơn vị vận hành cơ sở dữ liệu hộ nghèo, hộ cận nghèo thực hiện việc quản lý, đăng tải, cập nhật các thông tin về dịch vụ kết nối, chia sẻ dữ liệu hộ nghèo, hộ cận nghèo.
Điều 19. Cấu trúc dữ liệu trao đổi của dữ liệu được chia sẻ
1. Cấu trúc gói tin trao đổi phải sử dụng định dạng chuẩn theo quy định (JSON, XML, CSV, GeoJSON ....).
2. Cấu trúc dữ liệu trao đổi gồm dữ liệu xác thực (token, api key, chữ ký số hoặc thông tin xác thực khác), dữ liệu được chia sẻ, thông điệp kết quả chia sẻ.
3. Đối với dữ liệu quan trọng, cốt lõi, nhạy cảm có thể được áp dụng các phương thức mã hóa như AES, RSA.
4. Dữ liệu xác thực cho kết nối phải đảm bảo thay đổi định kỳ, tránh việc lộ thông tin bảo mật, truy cập trái phép.
Điều 20. Hạ tầng phục vụ kết nối, chia sẻ dữ liệu
1. Yêu cầu về giải pháp kỹ thuật công nghệ
a) Tương thích với hạ tầng công nghệ thông tin;
b) Có cam kết, hỗ trợ từ các tổ chức cung cấp nền tảng phát triển ứng dụng, dịch vụ;
c) Đáp ứng về giải pháp truy cập và dịch vụ phân phối dữ liệu;
d) Đáp ứng về giải pháp chia sẻ, tích hợp.
2. Yêu cầu về quy mô triển khai
a) Đáp ứng quy mô triển khai trên phạm vi toàn quốc;
b) Đáp ứng phục vụ cho các nhóm người dùng khác nhau trong quản lý, vận hành, cập nhật, khai thác cơ sở dữ liệu hộ nghèo, hộ cận nghèo.
3. Yêu cầu về hiệu năng
a) Đáp ứng các yêu cầu về thời gian xử lý;
b) Đáp ứng yêu cầu về số lượng người dùng truy cập đồng thời vào hệ thống.
Điều 21. Giải quyết vướng mắc trong quá trình kết nối, chia sẻ dữ liệu
1. Thẩm quyền tiếp nhận, giải quyết vướng mắc trong quá trình kết nối, chia sẻ dữ liệu hộ nghèo, hộ cận nghèo thực hiện theo quy định tại Điều 48 Nghị định số 47/2020/NĐ-CP.
2. Trình tự xử lý, giải quyết vướng mắc trong kết nối, chia sẻ dữ liệu hộ nghèo, hộ cận nghèo thực hiện theo quy định tại Điều 49 Nghị định số 47/2020/NĐ-CP.
3. Nguyên tắc, phương án giải quyết vướng mắc và triển khai tuân thủ phương án xử lý vướng mắc trong quá trình kết nối, chia sẻ dữ liệu về hộ nghèo, hộ cận nghèo thực hiện theo quy định tại Điều 50 Nghị định số 47/2020/NĐ-CP.
Điều 22. Quyền và trách nhiệm của cơ quan, tổ chức, cá nhân trong việc kết nối, chia sẻ dữ liệu
1. Quyền của Đơn vị quản lý, vận hành cơ sở dữ liệu hộ nghèo, hộ cận nghèo
a) Từ chối đề nghị kết nối, chia sẻ dữ liệu về hộ nghèo, hộ cận nghèo nếu đề nghị cung cấp, chia sẻ dữ liệu không phù hợp với quy định của pháp luật hoặc có những vướng mắc phát sinh liên quan.
b) Yêu cầu cơ quan, tổ chức, cá nhân khai thác, sử dụng dữ liệu về hộ nghèo, hộ cận nghèo thông báo tình hình sử dụng dữ liệu đã chia sẻ trong trường hợp có dấu hiệu việc sử dụng dữ liệu không phù hợp với Quy định này và quy định của pháp luật có liên quan.
c) Tạm dừng hoặc chấm dứt kết nối, chia sẻ dữ liệu theo quy định tại Điều 43, 44 của Nghị định số 47/2020/NĐ-CP.
2. Trách nhiệm của Đơn vị quản lý, vận hành cơ sở dữ liệu hộ nghèo, hộ cận nghèo
a) Đảm bảo cơ sở hạ tầng kỹ thuật để sẵn sàng phục vụ kết nối, chia sẻ dữ liệu; xây dựng và hoàn thiện các tài liệu hướng dẫn kết nối, chia sẻ dữ liệu theo quy định tại Quy định này và quy định của pháp luật về kết nối, chia sẻ dữ liệu.
b) Quản lý, công bố dữ liệu theo quy định của pháp luật; bảo đảm việc quản lý dữ liệu của cơ quan, đơn vị phù hợp với thực tiễn quản lý dữ liệu.
c) Bảo đảm chất lượng dữ liệu được cung cấp; cập nhật dữ liệu kịp thời; đính chính, hiệu chỉnh khi có sai lệch dữ liệu.
d) Rà soát, đánh giá cơ sở hạ tầng thông tin, hạn chế các rào cản về điều kiện cơ sở hạ tầng thông tin phục vụ cung cấp, chia sẻ dữ liệu; đánh giá các vướng mắc và đề xuất giải pháp tháo gỡ trong việc chia sẻ dữ liệu; báo cáo cấp có thẩm quyền và cơ quan quản lý nhà nước về chia sẻ dữ liệu.
đ) Báo cáo cơ quan có thẩm quyền tình hình cung cấp và trao đổi dữ liệu khi có yêu cầu.
e) Phối hợp với cơ quan, tổ chức, cá nhân khai thác, sử dụng dữ liệu và cơ quan có thẩm quyền liên quan để xử lý, giải quyết vướng mắc trong quá trình kết nối, chia sẻ và khai thác, sử dụng dữ liệu.
g) Chia sẻ dữ liệu đang quản lý về cá nhân, tổ chức cho cơ quan nhà nước khác có nhu cầu khi cá nhân, tổ chức đó đề nghị.
h) Khi xây dựng cơ sở dữ liệu có kết nối đến Trung tâm dữ liệu quốc gia phải tuân thủ hướng dẫn của Trung tâm dữ liệu quốc gia để bảo đảm việc kết nối, chia sẻ dữ liệu được ổn định, thông suốt và đáp ứng yêu cầu về an ninh, an toàn thông tin.
i) Công bố thông tin dịch vụ kết nối, chia sẻ dữ liệu trên Hệ thống quản lý dịch vụ chia sẻ dữ liệu nhằm phục vụ việc tiếp nhận đề nghị thiết lập kết nối, chia sẻ dữ liệu của các cơ quan, tổ chức, cá nhân.
3. Cơ quan, tổ chức, cá nhân khai thác, sử dụng dữ liệu có quyền:
a) Kết nối, khai thác, sử dụng dữ liệu về hộ nghèo, hộ cận nghèo theo quy định.
b) Đề nghị cơ quan có thẩm quyền để xử lý, giải quyết các vướng mắc làm ảnh hưởng đến quyền khai thác, sử dụng dữ liệu chia sẻ của mình.
4. Cơ quan, tổ chức, cá nhân khai thác, sử dụng dữ liệu có trách nhiệm:
a) Tuân thủ các quy định tại Quy định này và quy định của pháp luật về kết nối, chia sẻ dữ liệu.
b) Phối hợp với đơn vị cung cấp dữ liệu về hộ nghèo, hộ cận nghèo và cơ quan có thẩm quyền liên quan để xử lý, giải quyết các vướng mắc trong quá trình kết nối, chia sẻ và khai thác, sử dụng dữ liệu.
Mục 2.
CUNG CẤP, KHAI THÁC, SỬ DỤNG THÔNG TIN, DỮ LIỆU
Điều 23. Nguyên tắc cung cấp, khai thác sử dụng thông tin, dữ liệu
Mọi việc cung cấp, chia sẻ và khai thác thông tin, dữ liệu thuộc hộ nghèo, hộ cận nghèo phải tuân thủ nguyên tắc:
1. Nguyên tắc tuân thủ pháp luật: Việc thu thập, cung cấp, chia sẻ và khai thác thông tin, dữ liệu về hộ nghèo, hộ cận nghèo phải tuân thủ đầy đủ các quy định của pháp luật hiện hành, bao gồm quy định về an ninh quốc gia, bảo vệ dữ liệu cá nhân, bí mật nhà nước và quy định chuyên ngành có liên quan.
2. Nguyên tắc mục đích rõ ràng và hạn chế mục đích: Thông tin, dữ liệu chỉ được thu thập, cung cấp và sử dụng cho các mục đích đã được xác định, phục vụ quản lý nhà nước, hoạch định và triển khai chính sách giảm nghèo, đánh giá tác động, lập kế hoạch hỗ trợ và các mục đích hợp pháp khác theo quy định.
3. Nguyên tắc tối thiểu dữ liệu: Chỉ cung cấp, chia sẻ những thông tin, dữ liệu cần thiết, phù hợp với mục đích sử dụng; không cung cấp toàn bộ dữ liệu gốc trong trường hợp chỉ cần dữ liệu đã được tổng hợp.
4. Nguyên tắc bảo vệ quyền riêng tư và dữ liệu nhạy cảm: Thông tin, dữ liệu có yếu tố cá nhân, nhạy cảm phải được quản lý, xử lý theo quy định của pháp luật về bảo vệ dữ liệu cá nhân; chỉ được cung cấp, khai thác ở dạng đã được ẩn danh, tổng hợp hoặc làm mờ nhằm bảo đảm không tiết lộ danh tính, đời sống riêng tư của cá nhân, hộ gia đình.
5. Nguyên tắc phân cấp quyền truy cập và bảo mật: Việc cung cấp, khai thác thông tin, dữ liệu phải được thực hiện trên cơ sở phân cấp, phân quyền theo vai trò, thẩm quyền và trách nhiệm của cơ quan, tổ chức, cá nhân; bảo đảm áp dụng cơ chế xác thực, phân quyền, ghi nhật ký truy cập, đồng thời tuân thủ các quy định về an toàn, an ninh thông tin.
6. Nguyên tắc minh bạch và công khai có kiểm soát: Quy định rõ ràng đối tượng, phạm vi, điều kiện được quyền tiếp cận, khai thác dữ liệu; công khai quy trình, thủ tục đề nghị cung cấp dữ liệu, mục đích sử dụng và cơ chế giám sát, khiếu nại, giải quyết khiếu nại.
7. Nguyên tắc bảo đảm chất lượng và nguồn gốc dữ liệu: Mọi tập dữ liệu phải đi kèm thông tin mô tả (metadata) về nguồn gốc, thời điểm thu thập, phương pháp thu thập, độ tin cậy, mức độ cập nhật; chịu trách nhiệm về tính chính xác, đầy đủ và hợp lệ của dữ liệu.
8. Nguyên tắc liên thông, tương thích kỹ thuật: Thông tin, dữ liệu phải được chuẩn hóa theo định dạng, mã số, mã định danh, hệ tọa độ, cấu trúc dữ liệu và các quy chuẩn kỹ thuật có liên quan để bảo đảm khả năng liên thông, kết nối, tích hợp và sử dụng chung giữa các hệ thống.
9. Nguyên tắc không phân biệt đối xử và bảo đảm công bằng: Thông tin, dữ liệu và kết quả phân tích không được sử dụng để kỳ thị, phân biệt đối xử hoặc gây bất lợi cho hộ nghèo, hộ cận nghèo; bảo đảm nguyên tắc công bằng, khách quan trong quản lý và sử dụng.
10. Nguyên tắc hạn chế lưu trữ và hủy bỏ theo chu kỳ: Thông tin, dữ liệu chỉ được lưu trữ trong thời hạn cần thiết cho mục đích quản lý; hết thời hạn lưu trữ, cơ quan, tổ chức có trách nhiệm thực hiện việc hủy bỏ, xóa bỏ dữ liệu theo quy định của pháp luật và quy chế chuyên ngành.
Điều 24. Phương thức cung cấp, khai thác thông tin, dữ liệu
Thông tin, dữ liệu hộ nghèo, hộ cận nghèo được cung cấp và khai thác theo các phương thức chính sau đây:
1. Khai thác, sử dụng trực tiếp trên hệ thống thông tin cơ sở dữ liệu; tra cứu, tìm kiếm qua Cổng dữ liệu quốc gia, Cổng Dịch vụ công quốc gia, Cổng dữ liệu, Cổng thông tin điện tử của Bộ Nông nghiệp và Môi trường, Trang thông tin điện tử của Văn phòng quốc gia về giảm nghèo; Ứng dụng định danh quốc gia, Nền tảng định danh và xác thực điện tử và các phương tiện khác do cơ quan có thẩm quyền cung cấp.
2. Khai thác, sử dụng gián tiếp qua kết nối chia sẻ dữ liệu giữa các hệ thống thông tin theo quy định tại khoản 4 Điều 10 Nghị định số 194/2025/NĐ-CP:
a) Khai thác, sử dụng qua kết nối, chia sẻ dữ liệu trực tuyến giữa các hệ thống thông tin.
b) Khai thác, sử dụng gián tiếp qua bản sao dữ liệu được trích xuất từ cơ sở dữ liệu hộ nghèo, hộ cận nghèo.
c) Khai thác, sử dụng gián tiếp thông qua cơ sở dữ liệu tổng hợp quốc gia, trong trường hợp thông tin, dữ liệu hộ nghèo, hộ cận nghèo đã thực hiện đồng bộ, cập nhật dữ liệu về cơ sở dữ liệu tổng hợp quốc gia.
3. Khai thác sử dụng qua hình thức cung cấp thông tin dữ liệu bằng văn bản có xác nhận pháp lý của đơn vị quản lý, vận hành cơ sở dữ liệu hộ nghèo, hộ cận nghèo.
4. Khai thác, sử dụng thông tin, dữ liệu theo các phương thức khác theo quy định của pháp luật về tiếp cận thông tin.
5. Báo cáo định kỳ hàng năm (hoặc theo yêu cầu) dữ liệu cơ bản như tỷ lệ, tổng số hộ nghèo, hộ cận nghèo theo các tiêu chí nghèo đa chiều, chỉ số thiếu hụt dịch vụ xã hội cơ bản, dân tộc thiểu số thông qua biểu mẫu và văn bản chính thức.
Điều 25. Công bố, cung cấp dữ liệu mở
1. Công bố dữ liệu mở về hộ nghèo, hộ cận nghèo
a) Dữ liệu mở về hộ nghèo, hộ cận nghèo được cung cấp thuộc danh mục dữ liệu mở do Bộ Nông nghiệp và Môi trường ban hành.
b) Cơ quan, tổ chức, cá nhân phải trích dẫn, ghi nhận thông tin sử dụng dữ liệu về hộ nghèo, hộ cận nghèo mở trong sản phẩm, dịch vụ, tài liệu liên quan có sử dụng dữ liệu mở và tuân thủ nội dung được chỉ định trong dữ liệu đặc tả của tập dữ liệu mở khi khai thác, sử dụng và các quy định về dữ liệu mở tại Quy định này và quy định của pháp luật liên quan.
2. Cung cấp dữ liệu mở về hộ nghèo, hộ cận nghèo
a) Dữ liệu mở về hộ nghèo, hộ cận nghèo được cung cấp phải bảo đảm chất lượng, có định dạng mở, có khả năng gửi, nhận, lưu trữ, xử lý bằng thiết bị số, bảo đảm khả năng tiếp cận của người sử dụng và tuân thủ theo quy định tại khoản 2, khoản 3 Điều 43 Luật Giao dịch điện tử.
b) Việc cung cấp dữ liệu mở về hộ nghèo, hộ cận nghèo phải đáp ứng các yêu cầu sau:
- Không được tiết lộ thông tin cá nhân; đã được đánh giá và hạn chế nguy cơ, rủi ro tiết lộ thông tin cá nhân khi dữ liệu mở kết hợp với các thông tin khác;
- Bảo đảm an toàn thông tin mạng, an ninh mạng trong quá trình sử dụng dữ liệu mở, bao gồm cả rủi ro do dữ liệu mở gây ra hoặc rủi ro khi dữ liệu mở kết hợp với dữ liệu khác gây ra;
- Danh mục dữ liệu mở về hộ nghèo, hộ cận nghèo phải được rà soát, định kỳ hằng năm; trường hợp có thay đổi, cập nhật nội dung thì phải kịp thời sửa đổi, bổ sung. Dữ liệu mở đã công bố theo danh mục phải được cập nhật hoặc bổ sung trong thời hạn không quá 03 tháng kể từ thời điểm công bố;
- Tuân thủ các quy định của pháp luật chuyên ngành có liên quan.
Điều 26. Đối tượng, phạm vi khai thác sử dụng thông tin, dữ liệu
1. Các cơ quan, đơn vị trong hệ thống chính trị - xã hội từ trung ương đến cấp xã và các tổ chức, cá nhân khai thác, sử dụng thông tin dữ liệu hộ nghèo, hộ cận nghèo theo mục đích khai thác, sử dụng quy định tại khoản 1 Điều 10 Nghị định số 194/2025/NĐ-CP.
2. Thông tin, dữ liệu hộ nghèo, hộ cận nghèo được khai thác và sử dụng rộng rãi trên toàn quốc, kết nối, chia sẻ với bộ, ngành, địa phương và cơ quan nhà nước phục vụ quản lý nhà nước, thực hiện thủ tục hành chính, cải cách hành chính, phục vụ người dân, doanh nghiệp hoặc phục vụ các mục tiêu phát triển kinh tế - xã hội.
Điều 27. Thời hạn khai thác sử dụng thông tin, dữ liệu
1. Thông tin, dữ liệu về hộ nghèo, hộ cận nghèo được khai thác qua hình thức quy định tại khoản 1 Điều 24 của Quy định này có giá trị sử dụng ngay sau khi khai thác nếu không có quy định khác.
2. Thông tin, dữ liệu về hộ nghèo, hộ cận nghèo được khai thác qua hình thức quy định tại khoản 2 Điều 24 của Quy định này được phép sử dụng trong thời hạn nhất định. Thời hạn sử dụng dữ liệu tính từ thời điểm lần đồng bộ cuối cùng từ cơ sở dữ liệu nguồn sang cơ sở dữ liệu đích. Hết thời hạn sử dụng, dữ liệu trong cơ sở dữ liệu đích không có giá trị sử dụng hoặc cơ sở dữ liệu đích phải thực hiện việc đồng bộ lại dữ liệu với cơ sở dữ liệu nguồn.
3. Thông tin, dữ liệu hộ nghèo, hộ cận nghèo được khai thác theo hình thức quy định tại khoản 3 Điều 24 của Quy định này được phép sử dụng nhiều lần trong phạm vi thời gian hạn định. Hết thời gian hạn định, dữ liệu không có giá trị sử dụng.
Điều 28. Quyền và trách nhiệm của cơ quan, tổ chức, cá nhân trong việc cung cấp, khai thác sử dụng thông tin, dữ liệu
1. Đơn vị quản lý, duy trì, vận hành cơ sở dữ liệu hộ nghèo, hộ cận nghèo
a) Tổ chức công bố, cung cấp, khai thác sử dụng thông tin, dữ liệu thuộc phạm vi quản lý theo các quy định tại Quy định này và pháp luật liên quan.
b) Phân loại dữ liệu dựa trên yêu cầu quản trị, xử lý, bảo vệ, bao gồm phân loại theo tính chất chia sẻ (dùng chung, dùng riêng, mở) và tính chất quan trọng (cốt lõi, quan trọng, khác).
c) Tiếp nhận dữ liệu của các cơ quan, tổ chức, cá nhân cung cấp, chia sẻ theo quy định tại khoản 3 Điều 18 Luật Dữ liệu và Điều 8 Nghị định số 165/2025/NĐ-CP của Chính phủ.
2. Các cơ quan, tổ chức, cá nhân
a) Khai thác và sử dụng dữ liệu về hộ nghèo, hộ cận nghèo đúng phạm vi, mục đích, quy chế khai thác, sử dụng dữ liệu; phải trích dẫn nguồn và tuân thủ các quy định của pháp luật về khai thác, sử dụng dữ liệu, bảo vệ bí mật, sở hữu trí tuệ.
b) Thông báo kịp thời cho đơn vị cung cấp dữ liệu hộ nghèo, hộ cận nghèo về những sai sót của dữ liệu đã chia sẻ.
Chương V
BẢO ĐẢM AN TOÀN THÔNG TIN, BẢO MẬT CƠ SỞ DỮ LIỆU
Điều 29. Nguyên tắc và yêu cầu chung
1. Tuân thủ các quy định của pháp luật về an toàn thông tin mạng, bảo vệ dữ liệu cá nhân, bảo vệ bí mật nhà nước, an ninh mạng và các quy định liên quan.
2. Hệ thống cơ sở dữ liệu hộ nghèo, hộ cận nghèo phải được phân loại dữ liệu và xác định cấp độ hệ thống thông tin, làm căn cứ lựa chọn biện pháp bảo vệ tương ứng theo quy định tại Nghị định số 85/2016/NĐ-CP, TCVN 11930:2017, TCVN 14423:2025 và các tiêu chuẩn, quy chuẩn hiện hành hoặc thay thế khi được ban hành.
3. Đảm bảo yêu cầu về bảo mật, toàn vẹn và sẵn sàng, xác thực và truy xuất nguồn gốc của thông tin và hệ thống cơ sở dữ liệu hộ nghèo, hộ cận nghèo.
4. Phân định rõ trách nhiệm giữa các cơ quan, tổ chức, cá nhân trong quản lý, vận hành, khai thác hệ thống cơ sở dữ liệu hộ nghèo, hộ cận nghèo.
5. Tổ chức đào tạo, nâng cao nhận thức và kỹ năng an toàn thông tin cho cán bộ, công chức, viên chức và người sử dụng.
Điều 30. Yêu cầu kỹ thuật về đảm bảo an toàn thông tin khi kết nối, chia sẻ, cung cấp dữ liệu
1. Kết nối, chia sẻ dữ liệu qua giao thức an toàn đã được kiểm thử, bảo đảm tính bảo mật, toàn vẹn và xác thực nguồn dữ liệu phù hợp với cấp độ hệ thống thông tin; có biện pháp ngăn chặn truy cập trái phép.
2. Ghi nhật ký (log) đầy đủ mọi hoạt động truy cập, chỉnh sửa, xóa, khai thác dữ liệu; bảo vệ log khỏi bị sửa đổi hoặc xóa trái phép; lưu trữ tối thiểu theo cấp độ hệ thống.
3. Thực hiện sao lưu dữ liệu định kỳ, bảo đảm khả năng khôi phục khi cần thiết; việc sao lưu và lưu trữ bản sao thực hiện theo yêu cầu kỹ thuật quy định tại khoản 5 Điều 32 của Quy định này.
4. Hệ thống kết nối, chia sẻ được đánh giá an toàn thông tin định kỳ theo cấp độ hệ thống; các lỗ hổng nghiêm trọng phải khắc phục kịp thời theo cảnh báo cơ quan chuyên trách về an toàn thông tin.
5. Chia sẻ thông tin, dữ liệu phải có thỏa thuận quy định rõ phạm vi, thời hạn sử dụng dữ liệu, biện pháp bảo mật, trách nhiệm xử lý sự cố và trách nhiệm bảo đảm an toàn thông tin.
Điều 31. Yêu cầu kỹ thuật trong quản lý, vận hành, khai thác cơ sở dữ liệu
1. Thực hiện quản trị định danh và phân quyền truy cập theo mô hình phù hợp; áp dụng xác thực mạnh đối với tài khoản quản trị; ghi nhận và lưu vết mọi thay đổi về phân quyền; định kỳ rà soát tài khoản, nhóm quyền và thu hồi hoặc khóa quyền truy cập khi không còn phù hợp.
2. Cập nhật bản vá bảo mật cho hệ điều hành, cơ sở dữ liệu, ứng dụng, dịch vụ; không được sử dụng phần mềm, dịch vụ đã ngừng hỗ trợ hoặc không rõ nguồn gốc; thực hiện kiểm thử sau khi cập nhật và áp dụng biện pháp thay thế nếu phần mềm, dịch vụ không còn được cập nhật bản nâng cấp, vá lỗi.
3. Thực hiện sao lưu dữ liệu tối thiểu hàng ngày đối với dữ liệu quan trọng, bảo đảm khả năng khôi phục khi cần thiết; việc sao lưu và lưu trữ bản sao thực hiện theo yêu cầu kỹ thuật quy định tại khoản 5 Điều 32 của Quy định này.
4. Đảm bảo hệ thống giám sát an toàn thông tin 24/7; kết nối và chia sẻ cảnh báo với đơn vị chuyên trách khi có dấu hiệu tấn công hoặc sự cố; việc thiết lập cơ chế, công cụ và cấu hình kỹ thuật giám sát thực hiện theo yêu cầu quy định tại khoản 7 Điều 32 của Quy định này.
5. Tổ chức kiểm tra, đánh giá an toàn định kỳ: tối thiểu 01 lần/năm hoặc sau mỗi thay đổi lớn (kiến trúc, nền tảng, tích hợp, dữ liệu); bao gồm quét lỗ hổng và kiểm thử xâm nhập phù hợp cấp độ; khắc phục các điểm yếu, lỗ hổng trước khi tiếp tục vận hành.
6. Việc khai thác dữ liệu từ cơ sở dữ liệu hộ nghèo, hộ cận nghèo phải tuân thủ phân quyền truy cập, mục đích sử dụng và quy định bảo mật đã được quy định; mọi hoạt động khai thác dữ liệu phải được ghi nhật ký đầy đủ, bảo đảm khả năng truy xuất nguồn gốc và kiểm tra khi cần thiết; không cho phép truy cập trực tiếp vào dữ liệu gốc đối với các đối tượng không có thẩm quyền; dữ liệu chia sẻ ra ngoài phải được áp dụng biện pháp bảo vệ phù hợp, bao gồm lọc bỏ thông tin không cần thiết, xử lý hoặc mã hóa để đáp ứng yêu cầu bảo mật.
Điều 32. Yêu cầu kỹ thuật bảo đảm về an toàn, bảo mật cơ sở dữ liệu
1. Triển khai tường lửa có tính năng IDS/IPS, phân tách rõ các vùng mạng, đặc biệt là vùng DMZ cho kết nối, chia sẻ thông tin, dữ liệu hộ nghèo, hộ cận nghèo; cấu hình chính sách tường lửa phù hợp với cấp độ hệ thống thông tin và loại dữ liệu.
2. Áp dụng các biện pháp bảo mật cần thiết để bảo đảm toàn vẹn dữ liệu hộ nghèo, hộ cận nghèo nhạy cảm trong quá trình truyền và lưu trữ theo mức độ phù hợp với phân loại dữ liệu và cấp độ hệ thống thông tin; thực hiện cơ chế xác thực và đảm bảo nguồn gốc dữ liệu khi trao đổi, chia sẻ với các bên liên quan.
3. Triển khai các giải pháp kỹ thuật bảo đảm xác thực mạnh và quản lý quyền truy cập an toàn đối với tài khoản quản trị và tài khoản truy cập thông tin, dữ liệu hộ nghèo, hộ cận nghèo quan trọng; bảo đảm các cơ chế kỹ thuật hỗ trợ phân quyền hợp lý và rà soát, thu hồi quyền truy cập khi không còn nhu cầu sử dụng hoặc không phù hợp với nhiệm vụ được giao.
4. Cấu hình an toàn hệ điều hành, hệ quản trị, ứng dụng khai thác cơ sở dữ liệu hộ nghèo, hộ cận nghèo; tắt các dịch vụ không cần thiết; cập nhật bản vá bảo mật định kỳ và ngay khi có cảnh báo khẩn từ cơ quan chuyên trách về an toàn thông tin.
5. Mã hóa bản sao lưu cơ sở dữ liệu hộ nghèo, hộ cận nghèo; lưu trữ ít nhất tại 02 vị trí độc lập hoặc hệ thống độc lập, trong đó có tối thiểu 01 bản lưu offline hoặc chống ghi đè; kiểm tra toàn vẹn bản sao lưu và diễn tập khôi phục tối thiểu 01 lần/năm.
6. Triển khai giải pháp kiểm soát lưu lượng và phòng chống tấn công (APT, DDoS, brute-force, SQL injection, XSS) và các hình thức tấn công phổ biến khác đối với hạ tầng mạng và API chia sẻ thông tin, dữ liệu hộ nghèo, hộ cận nghèo.
7. Thiết lập cơ chế giám sát, phát hiện và cảnh báo sự cố an toàn thông tin đối với hệ thống cơ sở dữ liệu hộ nghèo, hộ cận nghèo một cách liên tục; bảo đảm khả năng kết nối, chia sẻ thông tin cảnh báo với đơn vị chuyên trách khi phát hiện nguy cơ mất an toàn hoặc bị tấn công.
8. Thực hiện kiểm thử, đánh giá an toàn bảo mật định kỳ hoặc khi có thay đổi lớn đối với các hệ thống và ứng dụng quản lý, khai thác cơ sở dữ liệu hộ nghèo, hộ cận nghèo; khắc phục kịp thời các điểm yếu, lỗ hổng bảo mật được phát hiện trước khi đưa vào hoặc tiếp tục vận hành./.
PHỤ LỤC
CẤU TRÚC, KIỂU THÔNG TIN CỦA CƠ SỞ DỮ LIỆU HỘ NGHÈO, HỘ CẬN NGHÈO
I. Mô hình cơ sở dữ liệu hộ nghèo, hộ cận nghèo
1. Mô hình tổng quát

2. Mô hình dữ liệu thuộc tính hộ nghèo, hộ cận nghèo

3. Mô hình dữ liệu không gian hộ nghèo, hộ cận nghèo

4. Mô hình dữ liệu phi cấu trúc hộ nghèo, hộ cận nghèo

II. Cấu trúc, kiểu thông tin cơ sở dữ liệu hộ nghèo, hộ cận nghèo
1. Dữ liệu danh mục, bảng mã
1.1. Bảng danh mục - Bảng mã bộ, ngành khác
1.1.1. Danh mục dân tộc
Tên bảng dữ liệu: DM_DanToc
Mã | Giá trị | Ghi chú |
1 | Kinh | Việt |
2 | Tày | Thổ, Ngạn, Phén, Thù Lao, Pa Dí, Tày Khao |
3 | Thái | Tày Đăm, Tày Mười, Tày Thanh, Mán Thanh, Hàng Bông, Tày Mường, Pa Thay, Thổ Đà Bắc |
4 | Hoa | Hán, Triều Châu, Phúc Kiến, Quảng Đông, Hải Nam, Hạ, Xạ Phạng |
5 | Khơ-me | Cur, Cul, Cu, Thổ, Việt gốc Miên, Krôm |
6 | Mường | Mol, Mual, Mọi, Mọi Bi, Ao Tá, Ậu Tá |
7 | Nùng | Xuồng, Giang, Nùng An, Phàn Sinh, Nùng Cháo, Nùng Lòi, Quý Rim, Khèn Lài |
8 | HMông | Mèo, Hoa, Mèo Xanh, Mèo Đỏ, Mèo Đen, Ná Mẻo, Mán Trắng |
9 | Dao | Mán, Động, Trại, Xá, Dìu, Miên, Kiềm, Miền, Quần Trắng, Dao Đỏ, Quần Chẹt, Lô Giang, Dao Tiền, Thanh Y, Lan Tẻn, Đại Bản, Tiểu Bản, Cóc Ngáng, Cóc Mùn, Sơn Đầu |
10 | Gia-rai | Giơ-rai, Tơ-buăn, Chơ-rai, Hơ-bau, Hđrung, Chor |
11 | Ngái | Xín, Lê, Đản, Khách Gia |
12 | Ê-đê | Ra-đê, Đê, Kpạ, A-đham, Krung, Ktul, Đliê Ruê, Blô, Epan, Mđhur, Bih |
13 | Ba na | Giơ-lar. Tơ-lô, Giơ-lâng, Y-lăng, Rơ-ngao, Krem, Roh, ConKđe, A-la Công, Kpăng Công, Bơ-nâm |
14 | Xơ-Đăng | Xơ-teng, Hđang, Tơ-đra, Mơ-nâm, Ha-lăng, Ca-dong, Kmrâng, ConLan, Bri-la, Tang |
15 | Sán Chay | Cao Lan, Sán Chỉ, Mán Cao Lan, Hờn Bạn, Sơn Tử |
16 | Cơ-ho | Xrê, Nốp, Tu-lốp, Cơ-don, Chil, Lat, Lach, Trinh |
17 | Chăm | Chàm, Chiêm Thành, Hroi |
18 | Sán Dìu | Sán Dẻo, Trại, Trại Đất, Mán, Quần Cộc |
19 | Hrê | Chăm Rê, Chom, Krẹ Luỹ |
20 | Mnông | Pnông, Nông, Pré, Bu-đâng, ĐiPri, Biat, Gar, Rơ-lam, Chil |
21 | Ra-glai | Ra-clây, Rai, Noang, La-oang |
22 | Xtiêng | Xa-điêng |
23 | Bru-Vân Kiều | Bru, Vân Kiều, Măng Coong, Tri Khùa |
24 | Thổ | Kẹo, Mọn, Cuối, Họ, Đan Lai, Ly Hà, Tày Pọng, Con Kha, Xá Lá Vàng |
25 | Giáy | Nhắng, Dẩng, Pầu Thìn Nu Nà, Cùi Chu, Xa |
26 | Cơ-tu | Ca-tu, Cao, Hạ, Phương, Ca-tang |
27 | Gié Triêng | Đgiéh, Tareb, Giang Rẫy Pin, Triêng, Treng, Ta-riêng, Ve, Veh, La-ve, Ca-tang |
28 | Mạ | Châu Mạ, Mạ Ngăn, Mạ Xóp, Mạ Tô, Mạ Krung |
29 | Khơ-mú | Xá Cẩu, Mứn Xen, Pu Thênh, Tềnh, Tày Hay |
30 | Co | Cor, Col, Cùa, Trầu |
31 | Tà-ôi | Tôi-ôi, Pa-co, Pa-hi, Ba-hi |
32 | Chơ-ro | Dơ-ro, Châu-ro |
33 | Kháng | Xá Khao, Xá Súa, Xá Dón, Xá Dẩng, Xá Hốc, Xá Ái, Xá Bung, Quảng Lâm |
34 | Xinh-mun | Puộc, Pụa |
35 | Hà Nhì | U Ni, Xá U Ni |
36 | Chu ru | Chơ-ru, Chu |
37 | Lào | Là Bốc, Lào Nọi |
38 | La Chí | Cù Tê, La Quả |
39 | La Ha | Xá Khao, Khlá Phlạo |
40 | Phù Lá | Bồ Khô Pạ, Mu Di Pạ Xá, Phó, Phổ, Va Xơ |
41 | La Hủ | Lao, Pu Đang, Khù Xung, Cò Xung, Khả Quy |
42 | Lự | Lừ, Nhuồn, Duôn |
43 | Lô Lô | Mun Di |
44 | Chứt | Sách, Máy, Rục, Mã-liêng, A-rem, Tu vang, Pa-leng, Xơ-Lang, Tơ-hung, Chà-củi, Tắc-củi, U-mo, Xá Lá Vàng |
45 | Mảng | Mảng Ư, Xá Lá Vàng |
46 | Pà Thẻn | Pà Hưng, Tống |
47 | Co Lao |
|
48 | Cống | Xắm Khống, Mấng Nhé, Xá Xeng |
49 | Bố Y | Chủng Chá, Trọng Gia, Tu Di, Tu Din |
50 | Si La | Cù Dề Xừ, Khả pẻ |
51 | Pu Péo | Ka Pèo, Pen Ti Lô Lô |
52 | Brâu | Brao |
53 | Ơ Đu | Tày Hạt |
54 | Rơ măm |
|
55 | Người nước ngoài |
|
56 | Không rõ |
|
1.1.2. Danh mục vùng miền
Tên bảng dữ liệu: DM_VungMien
Mã | Giá trị |
1 | Trung du và Miền núi phía Bắc |
2 | Đồng bằng sông Hồng |
3 | Bắc Trung bộ và Duyên hải miền Trung |
4 | Tây Nguyên |
5 | Đông Nam bộ |
6 | Đồng bằng sông Cửu Long |
1.1.3. Danh mục khu vực
Tên bảng dữ liệu: DM_KhuVuc
Mã | Giá trị |
1 | Khu vực nông thôn |
2 | Khu vực đô thị |
3 | Khu vực nông thôn miền núi, hải đảo |
4 | Khu vực nông thôn đồng bằng, trung du |
5 | Khu vực nông thôn đồng bằng |
1.1.4. Danh mục khu chức năng
Tên bảng dữ liệu: DM_KhuChucNang
Mã | Giá trị |
KCN | Khu đất công nghệ cao |
KTT | Khu đất kinh tế |
KDT | Đất đô thị |
KNN | Khu sản xuất nông nghiệp (khu vực chuyên trồng lúa nước, khu vực chuyên trồng cây công nghiệp lâu năm) |
KLN | Khu lâm nghiệp |
KDL | Khu du lịch |
KBT | Khu bảo tồn thiên nhiên và đa dạng sinh học |
KPC | Khu phát triển công nghiệp |
DTC | Khu đô thị |
KTM | Khu thương mại, dịch vụ |
DNT | Khu dân cư nông thôn |
KON | Khu ở, làng nghề, sản xuất phi nông nghiệp nông thôn |
1.1.5. Loại khu vực tổng hợp
Tên bảng dữ liệu: DM_KhuVucTongHop
Mã | Giá trị |
DNT | Đất khu dân cư nông thôn |
DTD | Đất đô thị |
CNC | Đất khu công nghệ cao |
KKT | Đất khu kinh tế |
KBT | Đất khu bảo tồn thiên nhiên |
KĐD | Đất cơ sở bảo tồn đa dạng sinh học |
MVB | Đất có mặt nước ven biển |
1.1.6. Loại giấy tờ tuỳ thân
Tên bảng dữ liệu: DM_GiayToTuyThan
Mã | Giá trị |
1 | Giấy khai sinh |
2 | Chứng minh nhân dân (dữ liệu về Chứng minh nhân dân chỉ áp dụng với các dữ liệu hình thành trước ngày 01/01/2025) |
3 | Giấy chứng minh sỹ quan quân đội nhân dân Việt Nam |
4 | Giấy chứng minh công an nhân dân |
5 | Căn cước công dân |
6 | Hộ chiếu |
7 | Sổ hộ khẩu (dữ liệu về Sổ hộ khẩu chỉ áp dụng với các dữ liệu hình thành trước ngày 01/08/2024) |
8 | Các loại giấy tờ tùy thân khác |
9 | Thẻ căn cước |
10 | Mã định danh cá nhân |
1.2. Bảng danh mục - Bảng mã dữ liệu chuyên ngành hộ nghèo, hộ cận nghèo
1.2.1. Loại căn cứ đánh giá
Tên bảng dữ liệu: DM_LoaiCanCuDanhGia
Mã | Giá trị |
1 | Chuẩn nghèo giai đoạn 1993-1995 |
2 | Chuẩn nghèo giai đoạn 1995-1997 |
3 | Công văn số 1751/LĐTBXH (1997-2000) |
4 | Quyết định 1143/2000/QĐ-LĐTBXH (2001-2005) |
5 | Quyết định số 170/2005/QĐ-TTg (2006-2010) |
6 | Quyết định số 09/2011/QĐ-TTg (2011-2015) |
7 | Quyết định số 59/2015/QĐ-TTg (2016-2021) |
8 | Nghị định số 07/2021/NĐ-CP (2022-2025) |
9 | Nghị định số 30/2025/NĐ-CP (2022-2025) |
1.2.2 Loại quan hệ chủ hộ
Tên bảng dữ liệu: DM_LoaiQuanHeChuHo
Mã | Giá trị |
1 | Chủ hộ |
2 | Vợ/Chồng |
3 | Con: Con đẻ, con dâu, con rể, con nuôi |
4 | Bố/Mẹ |
5 | Khác: Ông, bà, cô, dì, chú, bác, anh, chị, em.. |
1.2.3. Danh mục phân loại hộ rà soát
Tên bảng dữ liệu: DM_PhanLoaiHoRaSoat
Mã | Giá trị |
1 | Hộ nghèo |
2 | Hộ cận nghèo |
3 | Hộ mới thoát nghèo |
4 | Hộ tái nghèo |
1.2.4. Danh mục thông số thu nhập
Tên bảng dữ liệu: DM_ThongSoThuNhap
Mã | Giá trị | Ghi chú |
HN17 | Chuẩn hộ nghèo khu vực nông thôn giai đoạn 2022-2025 | Là hộ gia đình có thu nhập bình quân đầu người/tháng từ 1.500.000 đồng/người/tháng trở xuống và thiếu hụt từ 03 chỉ số đo lường mức độ thiếu hụt dịch vụ xã hội cơ bản trở lên |
HN18 | Chuẩn hộ nghèo khu vực đô thị giai đoạn 2022-2025 | Là hộ gia đình có thu nhập bình quân đầu người/tháng từ 2.000.000 đồng/người/tháng trở xuống và thiếu hụt từ 03 chỉ số đo lường mức độ thiếu hụt dịch vụ xã hội cơ bản trở lên |
HCN5 | Chuẩn hộ cận nghèo khu vực nông thôn giai đoạn 2022-2025 | Là hộ gia đình có thu nhập bình quân đầu người/tháng từ 1.500.000 đồng/người/tháng trở xuống và thiếu hụt dưới 03 chỉ số đo lường mức độ thiếu hụt dịch vụ xã hội cơ bản trở lên |
HCN6 | Chuẩn hộ cận nghèo khu vực đô thị giai đoạn 2022-2025 | Là hộ gia đình có thu nhập bình quân đầu người/tháng từ 2.000.000 đồng/người/tháng trở xuống và thiếu hụt dưới 03 chỉ số đo lường mức độ thiếu hụt dịch vụ xã hội cơ bản trở lên |
NCN01 | Tiêu chí thu nhập khu vực nông thôn giai đoạn 2022-2025 | 1.500.000 đồng/người/tháng |
NCN02 | Tiêu chí thu nhập khu vực đô thị giai đoạn 2022-2025 | 2.000.000 đồng/người/tháng |
1.2.5. Danh mục dịch vụ xã hội cơ bản
Tên bảng dữ liệu: DM_DichVuXaHoiCoBan
Mã | Giá trị |
1 | Việc làm |
2 | Y tế |
3 | Giáo dục |
4 | Nhà ở |
5 | Nước sinh hoạt và vệ sinh |
6 | Thông tin |
1.2.6. Danh mục chỉ số đo lường mức độ thiếu hụt
Tên bảng dữ liệu: DM_ChiSoDoLuongMucDoThieuHut
Mã | Giá trị |
1 | Việc làm |
2 | Người phụ thuộc trong hộ gia đình |
3 | Dinh dưỡng |
4 | Bảo hiểm y tế |
5 | Trình độ giáo dục của người lớn |
6 | Tình trạng đi học của trẻ em |
7 | Chất lượng nhà ở |
8 | Diện tích nhà ở bình quân đầu người |
9 | Nguồn nước sinh hoạt |
10 | Nhà tiêu hợp vệ sinh |
11 | Sử dụng dịch vụ viễn thông |
12 | Phương tiện phục vụ tiếp cận thông tin |
1.2.7. Danh mục quy trình thủ tục hành chính
Tên bảng dữ liệu: DM_QuyTrinhThuTucHanhChinh
Mã | Giá trị |
5.001736 | Xác định huyện nghèo giai đoạn 2021-2025 |
5.001740 | Xác định xã đặc biệt khó khăn vùng bãi ngang, ven biển và hải đảo giai đoạn 2021-2025 |
5.001742 | Xác định huyện thoát nghèo giai đoạn 2021- 2025 |
5.001744 | Phê duyệt dự án, kế hoạch hỗ trợ phát triển sản xuất liên kết theo chuỗi giá trị |
5.001745 | Phê duyệt dự án hỗ trợ phát triển sản xuất đặc thù |
1.2.8. Loại hình thống kê
Tên bảng dữ liệu: DM_LoaiHinhThongKe
Mã | Giá trị |
1 | Tiêu chí thống kê nghèo đa chiều |
2 | Tiêu chí thống kê đo lường mức độ thiếu hụt |
3 | Tiêu chí thống kê dân tộc thiểu số |
1.2.9. Danh mục tài liệu báo cáo tổng hợp
Tên bảng dữ liệu: DM_TaiLieuBaoCaoTongHop
Mã | Giá trị |
1 | Phiếu rà soát |
2 | Báo cáo tổng hợp cấp cơ sở |
3 | Báo cáo tổng hợp cấp TW |
4 | Bộ biểu thống kê kết quả rà soát |
5 | Quyết định phê duyệt |
1.2.10. Danh mục về siêu dữ liệu
Tên bảng dữ liệu: DM_SieuDuLieu
Mã | Giá trị |
MC01 | Loại dữ liệu hộ gia đình |
MC02 | Loại dữ liệu báo cáo, thống kê tổng hợp |
MC03 | Loại dữ liệu chương trình quốc gia |
MC04 | Loại dữ liệu thủ tục hành chính |
MC05 | Loại dữ liệu văn bản pháp luật |
MC06 | Loại dữ liệu chuyên đề |
MC07 | Loại dữ liệu phi cấu trúc |
MC08 | Loại dữ liệu khác |
MT01 | Kiểu dữ liệu không gian hộ nghèo, hộ cận nghèo |
MT02 | Kiểu dữ liệu thuộc tính hộ nghèo, hộ cận nghèo |
MT03 | Kiểu dữ liệu phi cấu trúc hộ nghèo, hộ cận nghèo |
MT04 | Kiểu dữ liệu mô tả |
MU01 | Đơn vị xây dựng siêu dữ liệu |
MU02 | Đơn vị xây dựng cơ sở dữ liệu |
MU03 | Đơn vị kiểm tra, nghiệm thu cơ sở dữ liệu |
MU04 | Đơn vị giám sát xây dựng cơ sở dữ liệu |
MU05 | Đơn vị lưu trữ cơ sở dữ liệu |
MU06 | Đơn vị trao đổi, chia sẻ dữ liệu |
MU07 | Đơn vị vận hành cơ sở dữ liệu |
MU08 | Đơn vị quản lý cơ sở dữ liệu |
2. Dữ liệu thuộc tính hộ nghèo, hộ cận nghèo
2.1. Nhóm dữ liệu hộ gia đình
2.1.1. Dữ liệu về thông tin hộ gia đình
Trường thông tin | Kiểu dữ liệu | Độ dài | Mô tả | ||
Thông tin | Tên trường thông tin | Tiếng Việt | Tiếng Anh | ||
Mã hộ gia đình | hoGiaDinhID | Chuỗi ký tự | String |
| Là dãy ký tự xác định duy nhất đối tượng, được khởi tạo tự động, sử dụng làm khóa chính. |
Thông tin chủ hộ | maDinhDanhCaNhan | Chuỗi ký tự | String | 4 | Là khoá ngoài liên kết với thông tin về cá nhân, đóng vai trò là đại diện chủ hộ |
Thông tin vùng miền | maVungMien | Chuỗi ký tự | String | 5 | Liên kết với bảng danh mục “Vùng Miền” |
Thông tin dân tộc | maDanToc | Chuỗi ký tự | String | 5 | Liên kết với bảng danh mục “Dân tộc” |
Mã đơn vị hành chính cấp xã 2 cấp | maDVHC2Xa | Chuỗi ký tự | String | 5 | Là mã số đơn vị hành chính theo quy định của Thủ tướng Chính phủ về ban hành danh mục và mã số các đơn vị hành chính Việt Nam |
Mã đơn vị hành chính cấp xã 3 cấp | maDVHC3Xa | Chuỗi ký tự | String | 5 | Là mã đơn vị hành chính được quy định trước ngày 01/7/2025 |
Địa chỉ | dinhDanhDiaDiemID | Chuỗi ký tự | String | 36 | Là khoá ngoài liên kết với dữ liệu địa chỉ |
Thơi gian lập | thoiGianLap | Ngày, tháng | Date | 10 | Thời điểm tạo lập thông tin hộ gia đình (dd/mm/yyyy) |
Liên kết không gian |
|
|
|
| Liên kết đến dữ liệu không gian |
2.1.2. Thông tin thành viên hộ gia đình
Trường thông tin | Kiểu dữ liệu | Độ dài | Mô tả | ||
Thông tin | Tên trường thông tin | Tiếng Việt | Tiếng Anh | ||
Mã đối tượng | thanhVienHoGiaDinhID | Chuỗi ký tự | String |
| Là dãy ký tự xác định duy nhất đối tượng, được khởi tạo tự động, sử dụng làm khóa chính. |
Thông tin hộ gia đình | hoGiaDinhID | Chuỗi ký tự | String |
| Là khoá ngoài liên kết với thông tin về Hộ gia đình |
Thông tin thành viên | maDinhDanhCaNhan | Chuỗi ký tự | String | 4 | Là khoá ngoài liên kết với thông tin về cá nhân (đóng vai trò là đại diện chủ hộ) |
Quan hệ với chủ hộ | loaiQuanheChuHoID | Chuỗi ký tự | String | 5 | Liên kết với bảng danh mục “Quan hệ với chủ hộ” |
Địa chỉ | dinhDanhDiaDiemID | Chuỗi ký tự | String | 36 | Là khoá ngoài liên kết với dữ liệu địa chỉ (mặc định lấy theo địa chỉ chủ hộ) |
Ghi chú | ghiChu | Chuỗi ký tự | String | 200 | Thông tin ghi chú thành viên theo hộ gia đình (nếu có) |
2.1.3. Dữ liệu về thông tin quan hệ chủ hộ
Trường thông tin | Kiểu dữ liệu | Độ dài | Mô tả | ||
Thông tin | Tên trường thông tin | Tiếng Việt | Tiếng Anh | ||
Mã đối tượng | loaiQuanHeChuHoID | Chuỗi ký tự | String |
| Là dãy ký tự xác định duy nhất đối tượng, được khởi tạo tự động, sử dụng làm khóa chính. |
Tên loại quan hệ chủ hộ | tenLoaiQuanHeChuHo | Chuỗi ký tự | String | 10 | Tên phân biệt loại quan hệ với chủ hộ |
2.1.4. Dữ liệu về nhân khẩu học (cá nhân trong hộ gia đình)
Trường thông tin | Kiểu dữ liệu | Độ dài | Mô tả | ||
Thông tin | Tên trường thông tin | Tiếng Việt | Tiếng Anh | ||
Mã định danh cá nhân | maDinhDanhCaNhan | Chuỗi ký tự | String | 4 | Kết nối, xác thực qua VNEID hoặc CSDL dân cư BCA |
Họ và tên | hoTen | Chuỗi ký tự | String | 150 | Là họ và tên của người ghi trong giấy tờ nhân thân. |
Ngày tháng năm sinh | ngaySinh | Ngày | Date | 10 | Là ngày, tháng, năm sinh (nếu có) |
Năm sinh | namSinh | Số nguyên | Integer | 4 | Năm sinh |
Giới tính | gioiTinh | Số nguyên | Integer | 1 | Thể hiện giới tính của cá nhân (0 là nữ, 1 là nam và 2 là giới tính khác) |
Giấy tờ tùy thân | maGiayToTuyThan |
|
|
| Liên kết sang dữ liệu về giấy tờ tùy thân. Trường hợp đã kết nối với cơ sở dữ liệu quốc gia về dân cư thì sử dụng dữ liệu từ cơ sở dữ liệu quốc gia về dân cư |
Dân tộc | maDanToc | Chuỗi ký tự | String | 5 | Liên kết với bảng danh mục “Dân tộc” |
Địa chỉ | diaChi | Chuỗi ký tự | String | 150 | Là thông tin về địa chỉ của đối tượng là cá nhân |
Phiên bản | phienBan | Số nguyên | Interger |
| Là Số nguyên lưu trữ thông tin phiên bản của cá nhân |
Hiệu lực | hieuLuc | Lôgic | Boolean |
| Là hiệu lực để xác định phiên bản là hiệu lực mới nhất, các phiên bản thấp hơn là không còn hiệu lực vì đã bị thay đổi thông tin |
2.1.5. Dữ liệu về loại giấy tờ tuỳ thân
Trường thông tin | Kiểu dữ liệu | Độ dài | Mô tả | ||
Thông tin | Tên trường thông tin | Tiếng Việt | Tiếng Anh | ||
Mã đối tượng | giayToTuyThanID | Chuỗi ký tự | String |
| Là dãy ký tự xác định duy nhất đối tượng, được khởi tạo tự động, sử dụng làm khóa chính. |
Mã loại giấy tờ tùy thân | loaiGiayToTuyThan | Số nguyên | Integer | 1 | Liên kết với bảng danh mục “Loại giấy tờ tuỳ thân” |
Số giấy tờ | soGiayTo | Chuỗi ký tự | String | 30 | Là số giấy tờ tùy thân |
Ngày cấp | ngayCap | Ngày tháng | Date/Integer |
| Là ngày cấp giấy tờ tùy thân |
Nơi cấp | noiCap | Chuỗi ký tự | String | 100 | Là nơi cấp giấy tờ tùy thân |
Mã định dạnh cá nhân | maDinhDanhCaNhan | Chuỗi ký tự | String |
| Trường hợp đã xác thực điện tử với cơ sở dữ liệu quốc gia về dân cư thì tự động lấy mã từ cơ sở dữ liệu quốc gia về dân cư |
Hình thức xác thực | hinhThucXacThuc | Số nguyên | Interger |
| 1: là trạng thái xác thực qua giấy tờ tuỳ thân 2: là trạng thái đã xác thực qua VNeID 3: là hình thức xác thực khác |
Phiên bản | phienBan | Số nguyên | Interger |
| Lưu trữ thông tin phiên bản dữ liệu của đối tượng |
2.1.6. Dữ liệu về địa chỉ
Trường thông tin | Kiểu dữ liệu | Độ dài | Mô tả | ||
Thông tin | Tên trường thông tin | Tiếng Việt | Tiếng Anh |
| |
Mã đối tượng | diaChiID | Chuỗi ký tự | String | 36 | Là dãy ký tự xác định duy nhất đối tượng, được khởi tạo tự động, sử dụng làm khóa chính. |
Mã đơn vị hành chính xã 2 cấp | maXa2Cap | Chuỗi ký tự | String | 5 | Là mã số đơn vị hành chính theo quy định của Thủ tướng Chính phủ về ban hành danh mục và mã số các đơn vị hành chính Việt Nam |
Mã đơn vị hành chính xã 3 cấp | maXa3Cap | Chuỗi ký tự | String | 5 | Là mã đơn vị hành chính được quy định trước ngày 01/7/2025 |
Địa chỉ chi tiết | diaChiChiTiet | Chuỗi ký tự | String | 50 | Là địa chỉ chi tiết gồm: số nhà (nếu có); trường hợp địa chỉ là căn hộ chung cư hoặc tập thể thì xác định số nhà là số hiệu căn hộ/số hiệu toà nhà; tên ngõ phố, ngách, hẻm... (nếu có); xứ đồng đối với thửa đất có loại đất là đất nông nghiệp, tiểu khu đối với thửa đất có loại đất là đất rừng |
Đường phố | tenDuongPho | Chuỗi ký tự | String | 50 | Là tên đường, tên phố (nếu có) |
Tổ dân phố | tenToDanPho | Chuỗi ký tự | String | 30 | Là tên tổ dân phố (nếu có); đối với nông thôn là tên: thôn, xóm, làng, ấp, bản, buôn, phum, sóc |
Tên đơn vị hành chính cấp xã 2 cấp | tenDVHCXa2Cap | Chuỗi ký tự | String | 30 | Là tên xã hoặc phường hoặc thị trấn quy định sau ngày 01/7/2025 |
Tên đơn vị hành chính cấp xã 3 cấp | tenDVHCXa3Cap | Chuỗi ký tự | String | 30 | Là tên xã hoặc phường hoặc thị trấn quy định trước ngày 01/7/2025 |
Tên đơn vị hành chính cấp huyện | tenDVHCHuyen | Chuỗi ký tự | String | 30 | Là tên quận hoặc huyện hoặc thị xã hoặc thành phố thuộc tỉnh, thành phố trực thuộc thành phố (phục vụ tra cứu dữ liệu lịch sử) |
Tên đơn vị hành chính cấp tỉnh 2 cấp | tenDVHCTinh | Chuỗi ký tự | String | 30 | Là tên tỉnh hoặc tên thành phố trực thuộc Trung ương sau sáp nhập từ 01/7/2025 |
Tên đơn vị hành chính cấp tỉnh 3 cấp | tenDVHCTinh | Chuỗi ký tự | String | 30 | Là tên tỉnh hoặc tên thành phố trực thuộc Trung ương trước ngày 01/7/2025 |
Phiên bản | phienBan | Số nguyên | Interger |
| Lưu trữ thông tin phiên bản dữ liệu của đối tượng |
2.1.7. Dữ liệu về danh mục vùng miền
Trường thông tin | Kiểu dữ liệu | Độ dài | Mô tả | ||
Thông tin | Tên trường thông tin | Tiếng Việt | Tiếng Anh | ||
Mã đối tượng | vungMienID | Chuỗi ký tự | String |
| Là dãy ký tự xác định duy nhất đối tượng, được khởi tạo tự động, sử dụng làm khóa chính. |
Tên vùng miền | tenVungMien | Chuỗi ký tự | String | 50 | Là tên vùng miền được quy định trong bảng danh mục “Vùng miền” |
2.1.8. Dữ liệu về danh mục khu vực
Trường thông tin | Kiểu dữ liệu | Độ dài | Mô tả | ||
Thông tin | Tên trường thông tin | Tiếng Việt | Tiếng Anh | ||
Mã đối tượng | khuVucID | Chuỗi ký tự | String |
| Là dãy ký tự xác định duy nhất đối tượng, được khởi tạo tự động, sử dụng làm khóa chính. |
Tên khu vực | tenKhuVuc | Chuỗi ký tự | String | 50 | Là tên khu vực được quy định trong bảng danh mục “Khu vực” |
2.1.9. Dữ liệu về danh mục dân tộc
Trường thông tin | Kiểu dữ liệu | Độ dài | Mô tả | ||
Thông tin | Tên trường thông tin | Tiếng Việt | Tiếng Anh | ||
Mã đối tượng | vungMienID | Chuỗi ký tự | String | 36 | Là dãy ký tự xác định duy nhất đối tượng, được khởi tạo tự động, sử dụng làm khóa chính. |
Tên dân tộc | tenDanToc | Chuỗi ký tự | String | 50 | Là tên dân tộc được quy định trong bảng danh mục “Dân tộc” |
2.1.10. Dữ liệu về rà soát hộ nghèo, hộ cận nghèo
Trường thông tin | Kiểu dữ liệu | Độ dài | Mô tả | ||
Thông tin | Tên trường thông tin | Tiếng Việt | Tiếng Anh | ||
Mã đối tượng | raSoatHoGiaDinhID | Chuỗi ký tự | String |
| Là dãy ký tự xác định duy nhất đối tượng, được khởi tạo tự động, sử dụng làm khóa chính. |
Hộ gia đình | hoGiaDinhID | Chuỗi ký tự | String | 36 | Là khóa ngoài liên kết bảng Hộ gia đình thể hiện thông tin về hộ gia đình được rà soát |
Mã phân loại rà soát | phanLoaiHoRaSoatID | Số nguyên | Interger | 2 | Là khóa ngoại liên kết với danh mục phân loại hộ gia đình rà soát |
Thông tin ghi chú | ghiChu | Chuỗi ký tự | String | 500 | Mô tả thông tin bổ sung về thông tin theo dõi |
Căn cứ đánh giá | loaiCanCuDanhGiaID | Chuỗi ký tự | String | 36 | Là khóa ngoại liên kết với bảng danh mục loại căn cứ đánh giá |
Thông số về thông tin thu nhập | thongSoThuNhapID | Chuỗi ký tự | String |
| Là khóa ngoại liên kết với bảng danh mục thông số thu nhập |
Thời điểm rà soát | thoiDiemRaSoat | Ngày tháng năm | Date | 10 | Thời điểm rà soát đánh giá (dd/mm/yyyy) |
Mã đơn vị hành chính cấp xã 2 cấp | maDVHC2Xa | Chuỗi ký tự | String | 5 | Là mã số đơn vị hành chính theo quy định của Thủ tướng Chính phủ về ban hành danh mục và mã số các đơn vị hành chính Việt Nam |
Mã đơn vị hành chính cấp xã 3 cấp | maDVHC3Xa | Chuỗi ký tự | String | 5 | Là mã đơn vị hành chính được quy định trước ngày 01/7/2025 |
Liên kết không gian |
|
|
|
| Liên kết đến dữ liệu không gian |
2.1.11. Dữ liệu về thông số rà soát theo chiều thu nhập
Trường thông tin | Kiểu dữ liệu | Độ dài | Mô tả | ||
Thông tin | Tên trường thông tin | Tiếng Việt | Tiếng Anh | ||
Mã đối tượng | raSoatTheoThuNhapID | Chuỗi ký tự | String |
| Là dãy ký tự xác định duy nhất đối tượng, được khởi tạo tự động, sử dụng làm khóa chính. |
Mã đối tượng rà soát | raSoatHoGiaDinhID | Chuỗi ký tự | String |
| Là khóa ngoài liên kết bảng thông tin rà soát hộ gia đình |
Thu nhập bình quân | thuNhapBinhQuan | Số thực | Real |
| Giá trị thu nhập bình quân đầu người/ tháng của hộ gia đình quy đổi VNĐ tại thời điểm rà soát |
Tổng thu nhập | tongThuNhap | Số thực | Real | 36 | Tổng hợp thu nhập từ các thành viên quy đổi VNĐ tại thời điểm rà soát |
Thời điểm rà soát | thoiDiemRaSoat | Ngày tháng năm | Date | 10 | Thời điểm rà soát đánh giá (dd/mm/yyyy) |
Phiên bản | phienBan | Số nguyên | Interger |
| Lưu trữ thông tin phiên bản dữ liệu của đối tượng |
2.1.12. Dữ liệu về thông số rà soát theo chiều chỉ tiêu thiếu hụt
Trường thông tin | Kiểu dữ liệu | Độ dài | Mô tả | ||
Thông tin | Tên trường thông tin | Tiếng Việt | Tiếng Anh | ||
Mã đối tượng | raSoatTheoChiTieuThieuHutID | Chuỗi ký tự | String |
| Là dãy ký tự xác định duy nhất đối tượng, được khởi tạo tự động, sử dụng làm khóa chính. |
Mã đối tượng rà soát | raSoatHoGiaDinhID | Chuỗi ký tự | String |
| Là khóa ngoài liên kết bảng thông tin rà soát hộ gia đình |
Chỉ số đo lường mức độ thiếu hụt | chiSoDoLuongThieuHutID | Chuỗi ký tự | String |
| Là khóa ngoài liên kết bảng thông tin danh mục chỉ số đo lường mức độ thiếu hụt |
Kết quả đánh giá chỉ số | ketQuaDanhGia | Logic | boolean | 1 | Thông tin đánh giá (Đạt hoặc không Đạt) đối với các chỉ số đo lường mức độ thiếu hụt |
Bộ chỉ số thông tin thiếu hụt | chiSoThieuHutID | Chuỗi ký tự | String | 500 | Là thông tin dạng ghi chú chi tiết nội dung đánh giá theo từng chỉ số đo lường |
Thời điểm rà soát | thoiDiemRaSoat | Ngày tháng năm | Date | 10 | Thời điểm rà soát đánh giá (dd/mm/yyyy) |
Phiên bản | phienBan | Số nguyên | Interger |
| Lưu trữ thông tin phiên bản dữ liệu của đối tượng |
2.1.13. Dữ liệu theo dõi lịch sử thay đổi thông tin rà soát hộ gia đình
Trường thông tin | Kiểu dữ liệu | Độ dài | Mô tả | ||
Thông tin | Tên trường thông tin | Tiếng Việt | Tiếng Anh | ||
Mã đối tượng | maTheoDoiID | Chuỗi ký tự | String |
| Là dãy ký tự xác định duy nhất đối tượng, được khởi tạo tự động, sử dụng làm khóa chính. |
Hộ gia đình | hoGiaDinhID | Chuỗi ký tự | String |
| Là khóa ngoài liên kết bảng thông tin hộ gia đình được rà soát |
Loại theo dõi | loaiTheoDoi | Số nguyên | Interger | 1 | 1: Rà soát tập trung 2: Rà soát theo đợt bổ sung 3: Theo dõi phát sinh |
Nội dung thay đổi | noiDungThayDoi | Chuỗi ký tự | String | 500 | Là nội dung thay đổi theo lần cập nhật theo dõi |
Đối tượng nhân khẩu tham gia vào quá trình thay đổi thông tin | doiTuongTacDong | Chuỗi ký tự | String | 100 | Là nhân khẩu tham gia vào quá trình rà soát, đánh giá cập nhật thông tin hộ gia đình |
Thời điểm rà soát | thoiDiemRaSoat | Ngày tháng năm | Date | 10 | Thời điểm rà soát đánh giá (dd/mm/yyyy) |
Phiên bản | phienBan | Số nguyên | Interger | 1 | Lưu trữ thông tin phiên bản dữ liệu của đối tượng |
2.1.14. Dữ liệu về danh mục thông tin phân loại hộ rà soát
Trường thông tin | Kiểu dữ liệu | Độ dài | Mô tả | ||
Thông tin | Tên trường thông tin | Tiếng Việt | Tiếng Anh | ||
Mã đối tượng | phanLoaiHoRaSoatID | Chuỗi ký tự | String |
| Là dãy ký tự xác định duy nhất đối tượng, được khởi tạo tự động, sử dụng làm khóa chính. |
Tên phân loại hộ rà soát | tenPhanLoaiHoRaSoat | Chuỗi ký tự | String | 50 | Là tên phân loại được quy định trong bảng danh mục “Phân loại hộ rà soát” |
2.1.15. Dữ liệu về thông số thu thập
Trường thông tin | Kiểu dữ liệu | Độ dài | Mô tả | ||
Thông tin | Tên trường thông tin | Tiếng Việt | Tiếng Anh | ||
Mã đối tượng | thongSoThuNhapID | Chuỗi ký tự | String |
| Là dãy ký tự xác định duy nhất đối tượng, được khởi tạo tự động, sử dụng làm khóa chính. |
Tên thông số | tenThongSoThuNhap | Chuỗi ký tự | String | 50 | Là tên thông số thu nhập |
Mã thông số thu nhập | thongSoThuNhapID | Chuỗi ký tự | String | 25 | Là trường dữ liệu về mã thông số thu nhập |
Giá trị thông số | giaTriThongSo | Chuỗi ký tự | String | 100 | Là giá trị tham chiếu thông tin thông số thu nhập |
2.1.16. Dữ liệu về loại căn cứ đánh giá
Trường thông tin | Kiểu dữ liệu | Độ dài | Mô tả | ||
Thông tin | Tên trường thông tin | Tiếng Việt | Tiếng Anh | ||
Mã đối tượng | loaiCanCuDanhGiaID | Chuỗi ký tự | String |
| Là dãy ký tự xác định duy nhất đối tượng, được khởi tạo tự động, sử dụng làm khóa chính. |
Tên thông số | tenLoaiCanCuDanhGia | Chuỗi ký tự | String | 50 | Là tên loại căn cứ đánh giá |
Ghi chú | ghiChu | Chuỗi ký tự | String | 25 | Là trường dữ liệu về loại căn cứ đánh giá |
2.1.17. Dữ liệu về dịch vụ xã hội cơ bản
Trường thông tin | Kiểu dữ liệu | Độ dài | Mô tả | ||
Thông tin | Tên trường thông tin | Tiếng Việt | Tiếng Anh | ||
Mã đối tượng | dichVuXaHoiCoBanID | Chuỗi ký tự | String |
| Là dãy ký tự xác định duy nhất đối tượng, được khởi tạo tự động, sử dụng làm khóa chính. |
Loại căn cứ đánh giá | loaiCanCuDanhGiaID | Chuỗi ký tự | String | 1 | Là khóa ngoại liên kết với bảng danh mục loại căn cứ đánh giá |
Tên dịch vụ xã hội cơ bản | tenDichVuXaHoiCoBan | Chuỗi ký tự | String | 50 | Là tên dịch vụ xã hội cơ bản (theo quy định tại Nghị định số 07/2021/NĐ-CP ngày 21/01/2021 gồm 06 dịch vụ cơ bản là: Việc làm; Y tế; Giáo dục; Nhà ở; Nước sinh hoạt và vệ sinh; Thông tin) |
Ghi chú | ghiChu | Chuỗi ký tự | String | 25 | Là trường dữ liệu về mã thông số thu nhập |
2.1.18. Dữ liệu về chỉ số đo lường mức độ thiếu hụt
Trường thông tin | Kiểu dữ liệu | Độ dài | Mô tả | ||
Thông tin | Tên trường thông tin | Tiếng Việt | Tiếng Anh | ||
Mã đối tượng | chiSoDoLuongThieuHutID | Chuỗi ký tự | String |
| Là dãy ký tự xác định duy nhất đối tượng, được khởi tạo tự động và sử dụng làm khóa chính. |
Dịch vụ xã hội cơ bản | dichVuXaHoiCoBanID | Chuỗi ký tự | String |
| Là khóa ngoại liên kết với bảng danh mục dịch vụ xã hội cơ bản |
Tên chỉ số thiếu hụt | tenChiSoThieuHut | Chuỗi ký tự | String | 100 |
|
Mã chỉ số | Chi tiết tại nhóm thông tin về chỉ số đo lường mức độ thiếu hụt | Chuỗi ký tự | String | 25 | Là trường dữ liệu về mã chỉ số đo lường mức độ thiếu hụt |
2.1.19. Dữ liệu về chi tiết chỉ số đo lường mức độ thiếu hụt
Trường thông tin | Kiểu dữ liệu | Độ dài | Mô tả | ||
Thông tin | Tên trường thông tin | Tiếng Việt | Tiếng Anh | ||
Mã đối tượng | chiSoChiTietDoLuongThieuHutID | Chuỗi ký tự | String |
| Là dãy ký tự xác định duy nhất đối tượng, được khởi tạo tự động và sử dụng làm khóa chính. |
Chỉ số đo lường mức độ thiếu hụt | chiSoDoLuongThieuHutID | Chuỗi ký tự | String |
| Là khóa ngoại liên kết với bảng danh mục “Chỉ số đo lường mức độ thiếu hụt” |
Tên chi tiết tiêu chí theo chỉ số | tenChiTietTieuChiTheoChiSo | Chuỗi ký tự | String | 50 | Là tên chi tiết theo chỉ số |
Giá trị dữ liệu đo lường | giaTriDuLieuDoLuong | Chuỗi ký tự | String | 100 | Lưu trữ thông tin chi tiết về tiêu chí đo lường theo chỉ số |
2.1.20. Dữ liệu về đơn vị, cơ quan quản lý
Trường thông tin | Kiểu dữ liệu | Độ dài | Mô tả | ||
Thông tin | Tên trường thông tin | Tiếng Việt | Tiếng Anh | ||
Mã đối tượng | donViID | Chuỗi ký tự | String |
| Là dãy ký tự xác định duy nhất đối tượng, được khởi tạo tự động và sử dụng làm khóa chính. |
Tên đơn vị | tenDonVi | Chuỗi ký tự | String | 200 | Là tên đơn vị |
Tên tiếng anh | tenTiengAnh | Chuỗi ký tự | String | 200 | Là tên Tiếng Anh của đơn vị |
Tên viết tắt đơn vị | tenVietTatDonVi | Chuỗi ký tự | String | 150 | Là tên viết tắt của đơn vị |
Đại chỉ | diaChiID | Chuỗi ký tự | String | 36 | Là thông tin về địa chỉ của đối tượng đơn vị |
Mã định danh tổ chức | maDinhDanhDonVi | Chuỗi ký tự | String | 150 | Là mã định danh của đơn vị |
Phiên bản | phienBan | Số nguyên | Interger | 1 | Lưu trữ thông tin phiên bản dữ liệu của đối tượng |
2.1.21. Dữ liệu về sinh kế nông nghiệp
Trường thông tin | Kiểu dữ liệu | Độ dài | Mô tả | ||
Thông tin | Tên trường thông tin | Tiếng Việt | Tiếng Anh | ||
Mã đối tượng | sinhKeNNID | Chuỗi ký tự | String |
| Là dãy ký tự xác định duy nhất đối tượng, được khởi tạo tự động và sử dụng làm khóa chính. |
Hộ gia đình | hoGiaDinhID |
|
|
| Là thông tin về hộ gia đình |
Hoạt động sinh kế chính | hoatDongSinhKeID |
|
|
| Là thông tin về hoạt động sinh kế chính của Hộ gia đình theo từng thời điểm rà sát |
Tổng diện tích đất nông nghiệp (ha). | tongDienTichDatNongNghiep | Số thực | Real |
| Là thông tin về diện tích đất nông nghiệp của Hộ gia đình theo từng thời điểm rà sát |
Số lượng vật nuôi (quy đổi theo đơn vị VCU). | soLuongVatNuoi | Số nguyên | Interger | 10 | Số lượng vật nuôi quy đổi theo đơn vị VCU của Hộ gia đình theo từng thời điểm rà soát. |
Khả năng tiếp cận thị trường | khaNangTiepCanThiTruong | Số nguyên | Interger | 1 | 1: Tốt 2: Trung bình 3: Kém 0: Không có khả năng |
Thời điểm rà sát | thoiDiemRaSoat | Ngày tháng | Date | 10 | Thời điểm rà soát đánh giá (dd/mm/yyyy) |
Liên kết không gian |
|
|
|
| Liên kết đến dữ liệu không gian |
2.1.22. Dữ liệu về hoạt động sinh kế
Trường thông tin | Kiểu dữ liệu | Độ dài | Mô tả | ||
Thông tin | Tên trường thông tin | Tiếng Việt | Tiếng Anh | ||
Mã đối tượng | hoatDongSinhKeID | Chuỗi ký tự | String |
| Là dãy ký tự xác định duy nhất đối tượng, được khởi tạo tự động và sử dụng làm khóa chính. |
Tên hoạt động sinh kế | tenHoatDongSinhKe | Chuỗi ký tự | String | 50 | Tên của hoạt động sinh kế chính (Trồng trọt, Chăn nuôi, Lâm nghiệp, Thủy sản, ...) |
Trạng thái xác thực | trangThaiXacThuc | Số nguyên | Interger |
| 1: Còn giá trị. 2: Không còn giá trị. 3. Đã chuyển đổi sang hoạt động khác. |
2.1.23. Dữ liệu về khoản vay
Trường thông tin | Kiểu dữ liệu | Độ dài | Mô tả | ||
Thông tin | Tên trường thông tin | Tiếng Việt | Tiếng Anh | ||
Mã đối tượng | khoanVayID | Chuỗi ký tự | String |
| Là dãy ký tự xác định duy nhất đối tượng, được khởi tạo tự động và sử dụng làm khóa chính. |
Hộ gia đình | hoGiaDinhID |
|
|
| Là thông tin về hộ gia đình |
Thông tin nguồn vay | thongTinNguonVay | Số nguyên | Interger | 1 | Là thông tin về nguồn vay, gồm: 1: Ngân hàng chính sách xã hội (VBSP) 2: Ngân hàng thương mại 3: Tín dụng 4: Nguồn khác |
Mã người đại diện | maDinhDanhCaNhan |
|
|
|
|
Số tiền vay | soTienVay | Số thực | Real |
| Số tiền vay tính theo đơn vị quy đổi VNĐ tại thời điểm vay |
Thời điểm vay | thoiDiemVay | Ngày tháng | Date | 10 | Thời điểm vay (dd/mm/yyyy) |
Thời điểm thanh toán | thoiDiemThanhToan | Ngày tháng | Date | 10 | Thể hiện thời điểm thanh toán nếu có (dd/mm/yyyy) |
Trạng thái thanh toán | trangThaiVay | Lôgic | Boolean |
| Thể hiện trạng thái khoản vay (0: Đã thanh toán; 1: Vẫn đang còn hiệu lực) |
Mục đích vay | mucDichVay | Chuỗi ký tự | String | 200 | Mô tả về nội dung, mục đích vay |
2.1.24. Dữ liệu về chương trình tham gia
Trường thông tin | Kiểu dữ liệu | Độ dài | Mô tả | ||
Thông tin | Tên trường thông tin | Tiếng Việt | Tiếng Anh | ||
Mã đối tượng | chuongTrinhID | Chuỗi ký tự | String |
| Là dãy ký tự xác định duy nhất đối tượng, được khởi tạo tự động và sử dụng làm khóa chính. |
Hộ gia đình | hoGiaDinhID |
|
|
| Là thông tin về hộ gia đình |
Mã chương trình tham gia | maChuongTrinhID | Số nguyên | Interger | 1 | Là khóa ngoại liên kết với chương trình quốc gia |
Tên chương trình tham gia | tenChuongTrinhGiamGia | Chuỗi ký tự | String | 200 | Mô tả tên chương trình tham gia |
Loại chương trình hỗ trợ | loaiChuongTrinhHoTro | Số nguyên | Interger | 1 | Là thông tin về nguồn vay (1: Tiền mặt; 2: Hiện vật; 3: Tín dụng; 4: Tập huấn; 5: Hình thức khác) |
Giá trị hỗ trợ | giaTriHoTro | Số thực | Real |
| Giá trị hỗ trợ tính theo đơn vị quy đổi VNĐ tại thời điểm hỗ trợ |
Ngày bắt đầu nhận hỗ trợ | ngayNhanHoTro | Ngày tháng | Date | 10 | Thời điểm nhận hỗ trợ (dd/mm/yyyy) |
Ngày kết thúc hỗ trợ | ngayKetThucHoTro | Ngày tháng | Date | 10 | Thể hiện thời điểm kết thúc hỗ trợ (dd/mm/yyyy) |
Trạng thái tham gia | trangThaiThamGia | Lôgic | Boolean |
| Thể hiện trạng thái tham gia (0: Đã hoàn thành 1: Vẫn đang còn hiệu lực) |
Mục đích tham gia | mucDichThamGia | Chuỗi ký tự | String | 200 | Mô tả về nội dung mục đích tham gia chương trình |
2.1.25. Dữ liệu về đánh giá tổn thương
Trường thông tin | Kiểu dữ liệu | Độ dài | Mô tả | ||
Thông tin | Tên trường thông tin | Tiếng Việt | Tiếng Anh | ||
Mã đối tượng | tonThuongID | Chuỗi ký tự | String |
| Là dãy ký tự xác định duy nhất đối tượng, được khởi tạo tự động và sử dụng làm khóa chính. |
Hộ gia đình | hoGiaDinhID |
|
|
| Là thông tin về hộ gia đình |
Nằm trong vùng nguy cơ hạn hán | nguyeCoHanHan | Lôgic | Boolean | 1 | Thể hiện trạng thái đánh giá theo nguy cơ hạn hán (0: Không; 1: Có nguy cơ) |
Nằm trong vùng nguy cơ ngập lụt cao | nguyCoNgapLut | Lôgic | Boolean | 1 | Thể hiện trạng thái đánh giá theo nguy cơ ngập lụt (0: Không; 1: Có nguy cơ) |
Nằm trong vùng nguy cơ xâm nhập mặn | nguyCoXamNhapMan | Lôgic | Boolean | 1 | Thể hiện trạng thái đánh giá theo nguy cơ xâm nhập mặn (0: Không; 1: Có nguy cơ) |
Nằm trong vùng nguy cơ xạt lở | nguyCoXatLo | Lôgic | Boolean | 1 | Thể hiện trạng thái đánh giá theo nguy cơ xạt lở (0: Không; 1: Có nguy cơ) |
Ghi nhận tác động tổn thương | ghiNhanTacDongTonThuong | Chuỗi ký tự | String | 500 | Thông tin ghi nhận tác động của thiên tai tới sinh kế của hộ gia đình tại mỗi thời điểm rà soát |
Thời điểm rà sát | thoiDiemRaSoat | Ngày tháng | Date | 10 | Thời điểm thống kê tổng hợp |
Liên kết không gian |
|
|
|
| Liên kết đến dữ liệu không gian |
2.2. Nhóm dữ liệu báo cáo, thống kê tổng hợp
2.2.1. Dữ liệu tổng hợp cấp vùng
a) Bộ số liệu thống kê tổng hợp hộ nghèo, hộ cận nghèo cấp vùng
Trường thông tin | Kiểu dữ liệu | Độ dài | Mô tả | ||
Thông tin | Tên trường thông tin | Tiếng Việt | Tiếng Anh | ||
Mã đối tượng | boSoLieuID | Chuỗi ký tự | String |
| Là dãy ký tự xác định duy nhất đối tượng, được khởi tạo tự động và sử dụng làm khóa chính. |
Tên bộ số liệu thống kê tổng hợp | tenBoSoLieu | Chuỗi ký tự | String | 1 | Là tên bộ báo cáo tổng hợp |
Phạm vi thống kê tổng hợp | phamViThongkeTongHop | Số nguyên | Interger | 1 | 0: Toàn quốc 1: Theo vùng 2: Theo cấp đơn vị hành chính khác |
Vùng miền | vungMienId | Chuỗi ký tự | String | 30 | Là khóa ngoài liên kết bảng thông tin danh mục vùng miền |
Đơn vị thực hiện | donViID | Chuỗi ký tự | String |
| Là khóa ngoài liên kết bảng thông tin danh mục Đơn vị |
Ghi chú | ghiChu | Chuỗi ký tự | String | 100 | Ghi chú thông tin bộ dữ liệu thống kê tổng hợp |
Thời điểm rà soát | thoiDiemRaSoat | Ngày tháng năm | Date | 10 | Thời điểm rà soát đánh giá (dd/mm/yyyy) |
Phiên bản | phienBan | Số nguyên | Interger | 1 | Lưu trữ thông tin phiên bản dữ liệu của đối tượng |
b) Thông tin dữ liệu tổng hợp hộ nghèo, hộ cận nghèo cấp vùng
Trường thông tin | Kiểu dữ liệu | Độ dài | Mô tả | ||
Thông tin | Ký hiệu trường thông tin | Tiếng Việt | Tiếng Anh | ||
Mã đối tượng | thongTinTongHopID | Chuỗi ký tự | String |
| Là dãy ký tự xác định duy nhất đối tượng, được khởi tạo tự động và sử dụng làm khóa chính. |
Bộ số liệu thống kê tổng hợp | boSoLieuID | Chuỗi ký tự | String |
| Là khoá ngoài liên kết tới bảng bộ số liệu thống kê tổng hợp cấp vùng - toàn quốc |
Tiêu đề thông tin tổng hợp cấp vùng | tenThongTinTongHopCapVung | Chuỗi ký tự | String | 50 | Là tên bộ báo cáo tổng hợp |
Loại hình thống kê tổng hợp | loaiHinhThongKeTongHopID | Chuỗi ký tự | String | 1 | Là khóa ngoài liên kết bảng thông tin danh mục Loại hình thống kê tổng hợp (Giá trị 1: Nghèo đa chiều; Giá trị 2: Thiếu hụt dịch vụ xã hội cơ bản; Giá trị 3: Dân tộc thiểu số) |
Tổng số hộ nghèo | tongSoHoNgheo | Số nguyên | Interger | 10 | Tổng số hộ nghèo theo tiêu chí loại thông tin thống kê tổng hợp |
Tổng số hộ cận nghèo | tongSoHoCanNgheo | Số nguyên | Interger | 10 | Tổng số hộ cận nghèo theo tiêu chí loại thông tin thống kê tổng hợp |
Tỷ lệ hộ nghèo | tyLeHoNgheo | Số thực | Real |
| Tỷ lệ hộ nghèo theo vùng thống kê tổng hợp |
Tỷ lệ hộ cận nghèo | tyLeHoCanNgheo | Số thực | Real |
| Tỷ lệ hộ cận nghèo theo vùng thống kê tổng hợp |
Tổng dân số theo loại hình thống kê | tongDanSoThongKe | Số nguyên | Interger | 12 | Tổng dân số theo loại hình thống kê |
Năm thực hiện | namThucHien | Ngày tháng | Date/ Integer | 10 | Thời điểm thống kê tổng hợp (dd/mm/yyyy) |
Thành phần dữ liệu | thanhPhanDuLieu | Chuỗi ký tự | String | 1 | Là khóa ngoại liên kết đến danh mục tài liệu báo cáo tổng hợp |
Mô tả dữ liệu | moTaDuLieu | Chuỗi ký tự | String | 500 | Mô tả thông tin dữ liệu theo thông tin tổng hợp cấp vùng |
Liên kết file | linkFile | Chuỗi ký tự | String | 50 | link liên kết đến phi cấu trúc |
Liên kết không gian |
|
|
|
| Liên kết thông tin dữ liệu không gian |
Thời điểm rà soát | thoiDiemRaSoat | Ngày tháng năm | Date | 10 | Thời điểm rà soát đánh giá (dd/mm/yyyy) |
Phiên bản | phienBan | Số nguyên | Interger | 1 | Lưu trữ thông tin phiên bản dữ liệu của đối tượng |
2.2.2. Dữ liệu tổng hợp cấp đơn vị hành chính
a) Bộ số liệu thống kê tổng hợp hộ nghèo, hộ cận nghèo cấp đơn vị hành chính
Trường thông tin | Kiểu dữ liệu | Độ dài | Mô tả | ||
Thông tin | Tên trường thông tin | Tiếng Việt | Tiếng Anh | ||
Mã đối tượng | boSoLieuID | Chuỗi ký tự | String |
| Là dãy ký tự xác định duy nhất đối tượng, được khởi tạo tự động và sử dụng làm khóa chính. |
Tên bộ số liệu thống kê tổng hợp theo đơn vị hành chính | tenBoSoLieu | Chuỗi ký tự | String | 1 | Là tên bộ báo cáo tổng hợp |
Phạm vi thống kê tổng hợp | phamViThongkeTongHop | Số nguyên | Interger | 1 | 1: Cấp tỉnh 2: Cấp huyện 3: Cấp xã |
Mã đơn vị hành chính thực hiện thống kê tổng hợp | maDVHC | Chuỗi ký tự | String | 5 | Là mã số đơn vị hành chính theo quy định của Thủ tướng Chính phủ về việc ban hành bảng danh mục và mã số các đơn vị hành chính Việt Nam |
Đơn vị thực hiện | donViID | Chuỗi ký tự | String |
| Là khóa ngoài liên kết bảng thông tin danh mục Đơn vị |
Ghi chú | ghiChu | Chuỗi ký tự | String | 100 | Ghi chú thông tin bộ dữ liệu thống kê tổng hợp |
Thời điểm rà soát | thoiDiemRaSoat | Ngày tháng năm | Date | 10 | Thời điểm rà soát đánh giá (dd/mm/yyyy) |
Phiên bản | phienBan | Số nguyên | Interger | 1 | Lưu trữ thông tin phiên bản dữ liệu của đối tượng |
b) Thông tin dữ liệu tổng hợp hộ nghèo, hộ cận nghèo cấp đơn vị hành chính
Trường thông tin | Kiểu dữ liệu | Độ dài | Mô tả | ||
Thông tin | Ký hiệu trường thông tin | Tiếng Việt | Tiếng Anh | ||
Mã đối tượng | thongTinTongHopID | Chuỗi ký tự | String |
| Là dãy ký tự xác định duy nhất đối tượng, được khởi tạo tự động và sử dụng làm khóa chính. |
Bộ số liệu thống kê tổng hợp | boSoLieuID | Chuỗi ký tự | String |
| Là khoá ngoài liên kết tới bảng bộ số liệu thống kê tổng hợp cấp vùng - toàn quốc |
Mã đơn vị hành chính cấp tỉnh 2 cấp | maDVHCTinh | Chuỗi ký tự | String | 5 | Là mã tỉnh hoặc tên thành phố trực thuộc Trung ương sau sáp nhập từ 01/7/2025 |
Mã đơn vị hành chính cấp tỉnh 3 cấp | maDVHCTinh | Chuỗi ký tự | String | 5 | Là mã tỉnh hoặc tên thành phố trực thuộc Trung ương trước ngày 01/7/2025 |
Mã đơn vị hành chính cấp huyện | maDVHCHuyen | Chuỗi ký tự | String | 5 | Là mã quận hoặc huyện hoặc thị xã hoặc thành phố thuộc tỉnh, thành phố trực thuộc thành phố |
Mã đơn vị hành chính cấp xã 2 cấp | maDVHCXa2Cap | Chuỗi ký tự | String | 5 | Là mã đơn vị hành chính cấp xã sau sáp nhập từ 01/7/2025 |
Mã đơn vị hành chính cấp xã 3 cấp | maDVHCXa3Cap | Chuỗi ký tự | String | 5 | Là mã đơn vị hành chính cấp xã trước ngày 01/7/2025 |
Loại hình thống kê tổng hợp | loaiHinhThongKeTongHopID | Chuỗi ký tự | String | 1 | Là khóa ngoài liên kết bảng thông tin danh mục Loại hình thống kê tổng hợp (Giá trị 1: Nghèo đa chiều; Giá trị 2: Thiếu hụt dịch vụ xã hội cơ bản; Giá trị 3: Dân tộc thiểu số) |
Tổng số hộ nghèo | tongSoHoNgheo | Số nguyên | Interger | 10 | Tổng số hộ nghèo theo tiêu chí loại thông tin thống kê tổng hợp |
Tổng số hộ cận nghèo | tongSoHoCanNgheo | Số nguyên | Interger | 10 | Tổng số hộ cận nghèo theo tiêu chí loại thông tin thống kê tổng hợp |
Tỷ lệ hộ nghèo | tyLeHoNgheo | Số thực | Real |
| Tỷ lệ hộ nghèo theo vùng thống kê tổng hợp |
Tỷ lệ hộ cận nghèo | tyLeHoCanNgheo | Số thực | Real |
| Tỷ lệ hộ cận nghèo theo vùng thống kê tổng hợp |
Tổng dân số theo loại hình thống kê | tongDanSoThongKe | Số nguyên | Interger | 12 | Tổng dân số theo loại hình thống kê |
Năm thực hiện | namThucHien | Ngày tháng | Date/Integer | 10 | Thời điểm thống kê tổng hợp (dd/mm/yyyy) |
Thành phần dữ liệu | thanhPhanDuLieu | Chuỗi ký tự | String | 1 | Là khóa ngoại liên kết đến danh mục tài liệu báo cáo tổng hợp |
Mô tả dữ liệu | moTaDuLieu | Chuỗi ký tự | String | 500 | Mô tả thông tin dữ liệu theo thông tin tổng hợp cấp vùng |
Liên kết file | linkFile | Chuỗi ký tự | String | 50 | link liên kết đến phi cấu trúc |
Liên kết không gian |
|
|
|
| Liên kết thông tin dữ liệu không gian |
Thời điểm rà soát | thoiDiemRaSoat | Ngày tháng năm | Date | 10 | Thời điểm rà soát đánh giá (dd/mm/yyyy) |
Phiên bản | phienBan | Số nguyên | Interger | 1 | Lưu trữ thông tin phiên bản dữ liệu của đối tượng |
2.3. Nhóm dữ liệu chương trình mục tiêu
2.3.1. Thông tin chung về chương trình mục tiêu quốc gia (CTMTQG)
Trường thông tin | Kiểu dữ liệu | Độ dài | Mô tả | ||
Thông tin | Tên trường thông tin | Tiếng Việt | Tiếng Anh | ||
Mã đơn vị | maDonVi | Số nguyên | Interger |
|
|
Tên đơn vị | tenDonVi | Chuỗi ký tự | String | 500 |
|
Mã CTMTQG | maCTMTQG | Số nguyên | Interger |
|
|
Tên chương trình mục tiêu quốc gia | tenCTMTQG | Chuỗi ký tự | String | 1000 |
|
Mã giai đoạn | maGiaiDoan | Số nguyên | Interger |
|
|
Tên giai đoạn | tenGiaiDoan | Chuỗi ký tự | String | 30 |
|
Năm kế hoạch | namKeHoach | Số nguyên | Interger |
|
|
2.3.2. Thông tin về mục tiêu, nhiệm vụ
Trường thông tin | Kiểu dữ liệu | Độ dài | Mô tả | ||
Thông tin | Tên trường thông tin | Tiếng Việt | Tiếng Anh | ||
Mã mục tiêu | maMucTieu | Số nguyên | Interger |
|
|
Tên mục tiêu | tenMucTieu | Chuỗi ký tự | String | 1000 |
|
Đơn vị đo lường | donViDoLuong | Chuỗi ký tự | String | 100 |
|
Kỳ báo cáo | kyBaoCao | Chuỗi ký tự | String | 30 |
|
Thực hiện mục tiêu, nhiệm vụ | thucHienMucTieu | Chuỗi ký tự | String | 100 |
|
Thời điểm báo cáo | thoiDiemBaoCao | Chuỗi ký tự | String | 100 |
|
Ước cả năm | uocCaNam | Chuỗi ký tự | String | 100 |
|
2.3.3. Thông tin về văn bản quản lý, tổ chức thực hiện CTMTQG
Trường thông tin | Kiểu dữ liệu | Độ dài | Mô tả | ||
Thông tin | Tên trường thông tin | Tiếng Việt | Tiếng Anh | ||
Mã loại văn bản | maLoaiVanBan | Số nguyên | Interger |
|
|
Tên loại văn bản | tenLoaiVanBan | Chuỗi ký tự | String | 100 |
|
Tên văn bản | tenVanBan | Chuỗi ký tự | String | 2.000 |
|
Cơ quan ban hành | coQuanBanHanh | Chuỗi ký tự | String | 100 |
|
Số ký hiệu | soKyHieu | Chuỗi ký tự | String | 100 |
|
2.3.4. Thông tin chung về vốn sự nghiệp
Trường thông tin | Kiểu dữ liệu | Độ dài | Mô tả | ||
Thông tin | Tên trường thông tin | Tiếng Việt | Tiếng Anh | ||
Mã dự án thành phần | maDuAnTP | Số nguyên | Interger |
|
|
Tên dự án thành phần | tenDuAnTP | Chuỗi ký tự | String | 2000 |
|
Mã tiểu dự án | maTieuDuAn | Số nguyên | Interger |
|
|
Tên tiểu dự án | tenTieuDuAn | Chuỗi ký tự | String | 2000 |
|
Mức vốn sự nghiệp | vonSuNghiep | Số thực | Numeric |
|
|
2.3.5. Thông tin chung về dự án triển khai theo CTMTQG
Trường thông tin | Kiểu dữ liệu | Độ dài | Mô tả | ||
Thông tin | Tên trường thông tin | Tiếng Việt | Tiếng Anh | ||
Mã đơn vị | maDonVi | Số nguyên | Interger |
|
|
Tên đơn vị | menDonVi | Chuỗi ký tự | String | 500 |
|
Mã chương trình mục tiêu quốc gia | maCTMTQG | Số nguyên | Interger |
|
|
Tên chương trình mục tiêu quốc gia | yenCTMTQG | Chuỗi ký tự | String | 1000 |
|
Mã giai đoạn | maGiaiDoan | Số nguyên | Interger |
|
|
Tên giai đoạn | tenGiaiDoan | Chuỗi ký tự | String | 30 |
|
Năm kế hoạch | namKeHoach | Số nguyên | Interger |
|
|
Mã dự án thành phần | maDuAnTP | Số nguyên | Interger |
|
|
Tên dự án thành phần | tenDuAnTP | Chuỗi ký tự | String | 2000 |
|
Mã tiểu dự án | maTieuDuAn | Số nguyên | Interger |
|
|
Tên tiểu dự án | tenTieuDuAn | Chuỗi ký tự | String | 2000 |
|
Mã nguồn vốn | maNguonVon | Số nguyên | Interger |
|
|
Tên nguồn vốn | tenNguonvon | Chuỗi ký tự | String | 500 |
|
2.3.6. Thông tin chung về giải ngân, thanh toán
Trường thông tin | Kiểu dữ liệu | Độ dài | Mô tả | ||
Thông tin | Tên trường thông tin | Tiếng Việt | Tiếng Anh | ||
Kỳ báo cáo | kyBaoCao | Chuỗi ký tự | Nvarchar |
|
|
Giải ngân vốn trong nước | giaiNganVTN | Số thực | Real | 500 |
|
Giải ngân vốn nước ngoài | giaiNganVNN | Số thực | Real |
|
|
Giải ngân chi thường xuyên | giaiNganCTX | Số thực | Real | 1000 |
|
2.4. Nhóm dữ liệu thủ tục hành chính
2.4.1. Thông tin tiếp nhận hồ sơ theo thủ tục hành chính
Trường thông tin | Kiểu dữ liệu | Độ dài | Mô tả | ||
Thông tin | Tên trường thông tin | Tiếng Việt | Tiếng Anh | ||
Mã đối tượng | tiepNhanHoSoID | Chuỗi ký tự | String |
| Là dãy ký tự xác định duy nhất đối tượng, được khởi tạo tự động và sử dụng làm khóa chính. |
Mã thủ tục | thuTucHanhChinhID | Chuỗi ký tự | String | 25 | Là trường dữ liệu về mã quy định thủ tục hành chính |
Mã đơn vị hành chính cấp xã 2 cấp | maDVHCXa2Cap | Chuỗi ký tự | String | 5 | Là mã đơn vị hành chính cấp xã sau sáp nhập từ 01/7/2025 |
Mã đơn vị hành chính cấp xã 3 cấp | tenDVHCXa3Cap | Chuỗi ký tự | String | 5 | Là mã đơn vị hành chính cấp xã trước ngày 01/7/2025 |
Trạng thái hồ sơ | trangThaiDangKy | Logic | Boolean | 1 | 0: Hồ sơ không đạt yêu cầu 1: Mới đăng ký (đăng ký thành công) 2: Đang xử lý 3: Yêu cầu bổ sung thông tin 4: Hủy 5: Chờ phản hồi 6: Hồ sơ hoàn tất xử lý |
Mã giao dịch TTHC | giaoDichTTHCID | Chuỗi ký tự | String |
| Khoá ngoại liên kết tới dữ liệu trong hệ thống và các ứng dụng tích hợp khác về thay đổi trong quá trình xử lý hồ sơ. |
Thành phần hồ sơ | thanhPhanHoSoID | Chuỗi ký tự | String |
| Liên kết đến thành phần hồ sơ |
Đơn vị tiếp nhận | donViID | Chuỗi ký tự | String |
| Liên kết tới danh mục đơn vị tiếp nhận |
Ngày bắt đầu | ngayBatDau | Ngày tháng | Date | 10 | Thời điểm đăng ký hồ sơ (dd/mm/yyyy) |
Ngày kết thúc | ngayKetThuc | Ngày tháng | Date | 10 | Thể hiện thời điểm kết thúc xử lý hồ sơ nếu có (dd/mm/yyyy) |
2.4.2. Dữ liệu về hồ sơ đăng ký thủ tục hành chính
Trường thông tin | Kiểu dữ liệu | Độ dài | Mô tả | ||
Thông tin | Tên trường thông tin | Tiếng Việt | Tiếng Anh | ||
Mã đối tượng | thanhPhanHoSoID | Chuỗi ký tự | String |
| Là dãy ký tự xác định duy nhất đối tượng, được khởi tạo tự động và sử dụng làm khóa chính. |
Mã giao dịch TTHC | giaoDichTTHCID | Chuỗi ký tự | String |
|
|
Hồ sơ kèm theo thủ tục | hoSoKemTheo | Chuỗi ký tự | String |
| Liên kết dữ liệu phi cấu trúc |
Kết quả giải quyết | ketQuaGiaiQuyet | Chuỗi ký tự | String |
| Liên kết thông tin kết quả giải quyết hồ sơ |
3. Dữ liệu không gian hộ nghèo, hộ cận nghèo
3.1. Nhóm dữ liệu chuyên đề tổng hợp
3.1.1. Lớp dữ liệu chi tiết hộ gia đình
Tên lớp dữ liệu: TongHopHoGiaDinh
Kiểu dữ liệu không gian: Dữ liệu dạng điểm (GM_Point)
Trường thông tin | Kiểu dữ liệu | Độ dài | Mô tả | ||
Thông tin | Tên trường thông tin | Tiếng Việt | Tiếng Anh | ||
Mã đối tượng | diemHoGiaDinhID | Chuỗi ký tự | String |
| Là dãy ký tự xác định duy nhất đối tượng, được khởi tạo tự động và sử dụng làm khóa chính. |
Hộ gia đình | hoGiaDinhID | Chuỗi ký tự | String |
| Liên kết thông tin hộ gia đình |
Vị trí | viTriHoGiaDinh | Chuỗi ký tự | String | 300 | Địa chỉ cụ thể: số nhà, tổ dân phố, phường xã, tỉnh. |
Toạ độ X | toaDoX | Số thực | Real |
| Là toạ độ vuông góc phẳng X trong Hệ toạ độ quốc gia VN-2000 theo số liệu được cơ quan có thẩm quyền cung cấp. Đơn vị tính là mét (m), độ chính xác được làm tròn đến 02 số phần thập phân. |
Toạ độ Y | toaDoY | Số thực | Real |
| Là toạ độ vuông góc phẳng Y trong Hệ toạ độ quốc gia VN-2000 theo số liệu được cơ quan có thẩm quyền cung cấp. Đơn vị tính là mét (m), độ chính xác được làm tròn đến 02 số phần thập phân. |
Thời điểm rà soát | thoiDiemRaSoat | Ngày tháng năm | Date | 10 | Thời điểm rà soát đánh giá (dd/mm/yyyy) |
Dữ liệu đồ hoạ | geo | Dữ liệu dạng điểm | GM_Point |
| Là dữ liệu đồ hoạ của đối tượng |
3.1.2. Lớp dữ liệu tổng hợp hộ gia đình theo vùng
Tên lớp dữ liệu: TongHopHoGiaDinhTheoVung
Kiểu dữ liệu không gian: Dữ liệu dạng vùng (GM_Polygon)
Trường thông tin | Kiểu dữ liệu | Độ dài | Mô tả | ||
Thông tin | Tên trường thông tin | Tiếng Việt | Tiếng Anh | ||
Mã đối tượng | tongHopHoGiaDinhTheoVungID | Chuỗi ký tự | String |
| Là dãy ký tự xác định duy nhất đối tượng, được khởi tạo tự động và sử dụng làm khóa chính. |
Tên vùng | tenVung | Chuỗi ký tự | String |
| Tên vùng tổng hợp |
Loại hình thống kê tổng hợp | loaiHinhThongKeTongHopID | Chuỗi ký tự | String | 1 | Là khóa ngoài liên kết bảng thông tin danh mục Loại hình thống kê tổng hợp (Giá trị 1: Nghèo đa chiều; Giá trị 2: Thiếu hụt dịch vụ xã hội cơ bản; Giá trị 3: Dân tộc thiểu số) |
Tổng số hộ nghèo | tongSoHoNgheo | Số nguyên | Interger | 10 | Tổng số hộ nghèo theo tiêu chí loại thông tin thống kê tổng hợp |
Tổng số hộ cận nghèo | tongSoHoCanNgheo | Số nguyên | Interger | 10 | Tổng số hộ cận nghèo theo tiêu chí loại thông tin thống kê tổng hợp |
Tỷ lệ hộ nghèo | tyLeHoNgheo | Số thực | Real |
| Tỷ lệ hộ nghèo theo vùng thống kê tổng hợp |
Tỷ lệ hộ cận nghèo | tyLeHoCanNgheo | Số thực | Real |
| Tỷ lệ hộ cận nghèo theo vùng thống kê tổng hợp |
Tổng dân số theo loại hình thống kê | tongDanSoThongKe | Số nguyên | Interger | 12 | Tổng dân số theo loại hình thống kê |
Thời gian thực hiện | thoiGianThucHien | Ngày tháng | Date/Integer | 10 | Thời điểm thống kê tổng hợp (dd/mm/yyyy) |
Dữ liệu đồ hoạ | geo | Dữ liệu dạng vùng | GM_Polygon |
| Là dữ liệu đồ hoạ của đối tượng |
3.1.3. Lớp dữ liệu tổng hợp hộ gia đình theo tỉnh
Tên lớp dữ liệu: TongHopHoGiaDinhTheoTinh
Kiểu dữ liệu không gian: Dữ liệu dạng vùng (GM_Polygon)
Trường thông tin | Kiểu dữ liệu | Độ dài | Mô tả | ||
Thông tin | Tên trường thông tin | Tiếng Việt | Tiếng Anh | ||
Mã đối tượng | diemTongHopCapTinhID | Chuỗi ký tự | String |
| Là dãy ký tự xác định duy nhất đối tượng, được khởi tạo tự động và sử dụng làm khóa chính. |
Mã tổng hợp cấp tỉnh | thongTinTongHopID | Chuỗi ký tự | String |
| Liên kết thông tin báo cáo tổng hợp cấp tỉnh |
Mã đơn vị hành chính cấp tỉnh 2 cấp | maDVHCTinh | Chuỗi ký tự | String | 5 | Là mã tỉnh hoặc tên thành phố trực thuộc Trung ương sau sáp nhập từ 01/7/2025 |
Mã đơn vị hành chính cấp tỉnh 3 cấp | maDVHCTinh | Chuỗi ký tự | String | 5 | Là mã tỉnh hoặc tên thành phố trực thuộc Trung ương trước ngày 01/7/2025 |
Loại hình thống kê tổng hợp | loaiHinhThongKeTongHopID | Chuỗi ký tự | String | 1 | Là khóa ngoài liên kết bảng thông tin danh mục Loại hình thống kê tổng hợp (Giá trị 1: Nghèo đa chiều; Giá trị 2: Thiếu hụt dịch vụ xã hội cơ bản; Giá trị 3: Dân tộc thiểu số) |
Tổng số hộ nghèo | tongSoHoNgheo | Số nguyên | Interger | 10 | Tổng số hộ nghèo theo tiêu chí loại thông tin thống kê tổng hợp |
Tổng số hộ cận nghèo | tongSoHoCanNgheo | Số nguyên | Interger | 10 | Tổng số hộ cận nghèo theo tiêu chí loại thông tin thống kê tổng hợp |
Tỷ lệ hộ nghèo | tyLeHoNgheo | Số thực | Real |
| Tỷ lệ hộ nghèo theo tỉnh thống kê tổng hợp |
Tỷ lệ hộ cận nghèo | tyLeHoCanNgheo | Số thực | Real |
| Tỷ lệ hộ cận nghèo theo tỉnh thống kê tổng hợp |
Tổng dân số theo loại hình thống kê | tongDanSoThongKe | Số nguyên | Interger | 12 | Tổng dân số theo loại hình thống kê |
Thời gian thực hiện | thoiGianThucHien | Ngày tháng | Date/Integer | 10 | Thời điểm thống kê tổng hợp (dd/mm/yyyy) |
Dữ liệu đồ hoạ | geo | Dữ liệu dạng vùng | GM_Polygon |
| Là dữ liệu đồ hoạ của đối tượng |
3.1.4. Lớp dữ liệu tổng hợp hộ gia đình theo huyện
Tên lớp dữ liệu: TongHopHoGiaDinhTheoHuyen
Kiểu dữ liệu không gian: Dữ liệu dạng vùng (GM_Polygon)
Trường thông tin | Kiểu dữ liệu | Độ dài | Mô tả | ||
Thông tin | Tên trường thông tin | Tiếng Việt | Tiếng Anh | ||
Mã đối tượng | diemTongHopCapHuyenID | Chuỗi ký tự | String |
| Là dãy ký tự xác định duy nhất đối tượng, được khởi tạo tự động và sử dụng làm khóa chính. |
Mã tổng hợp cấp huyen | thongTinTongHopID | Chuỗi ký tự | String |
| Liên kết thông tin báo cáo tổng hợp cấp huyện |
Mã đơn vị hành chính cấp huyện | maDVHCHuyen | Chuỗi ký tự | String | 5 |
|
Loại hình thống kê tổng hợp | loaiHinhThongKeTongHopID | Chuỗi ký tự | String | 1 | Là khóa ngoài liên kết bảng thông tin danh mục Loại hình thống kê tổng hợp (Giá trị 1: Nghèo đa chiều; Giá trị 2: Thiếu hụt dịch vụ xã hội cơ bản; Giá trị 3: Dân tộc thiểu số) |
Tổng số hộ nghèo | tongSoHoNgheo | Số nguyên | Interger | 10 | Tổng số hộ nghèo theo tiêu chí loại thông tin thống kê tổng hợp |
Tổng số hộ cận nghèo | tongSoHoCanNgheo | Số nguyên | Interger | 10 | Tổng số hộ cận nghèo theo tiêu chí loại thông tin thống kê tổng hợp |
Tỷ lệ hộ nghèo | tyLeHoNgheo | Số thực | Real |
| Tỷ lệ hộ nghèo theo huyện thống kê tổng hợp |
Tỷ lệ hộ cận nghèo | tyLeHoCanNgheo | Số thực | Real |
| Tỷ lệ hộ cận nghèo theo huyện thống kê tổng hợp |
Tổng dân số theo loại hình thống kê | tongDanSoThongKe | Số nguyên | Interger | 12 | Tổng dân số theo loại hình thống kê |
Thời gian thực hiện | thoiGianThucHien | Ngày tháng | Date/Integer | 10 | Thời điểm thống kê tổng hợp (dd/mm/yyyy) |
Dữ liệu đồ hoạ | geo | Dữ liệu dạng vùng | GM_Polygon |
| Là dữ liệu đồ hoạ của đối tượng |
3.1.5. Lớp dữ liệu tổng hợp hộ gia đình theo xã
Tên lớp dữ liệu: TongHopHoGiaDinhTheoXa
Kiểu dữ liệu không gian: Dữ liệu dạng vùng (GM_Polygon)
Trường thông tin | Kiểu dữ liệu | Độ dài | Mô tả | ||
Thông tin | Tên trường thông tin | Tiếng Việt | Tiếng Anh | ||
Mã đối tượng | diemTongHopCapXaID | Chuỗi ký tự | String |
| Là dãy ký tự xác định duy nhất đối tượng, được khởi tạo tự động và sử dụng làm khóa chính. |
Mã tổng hợp cấp tỉnh | thongTinTongHopID | Chuỗi ký tự | String |
| Liên kết thông tin báo cáo tổng hợp cấp tỉnh |
Mã đơn vị hành chính cấp xã 2 cấp | maDVHCXa2Cap | Chuỗi ký tự | String | 5 | Là mã đơn vị hành chính cấp xã sau sáp nhập từ 01/7/2025 |
Mã đơn vị hành chính cấp xã 3 cấp | maDVHCXa3Cap | Chuỗi ký tự | String | 5 | Là mã đơn vị hành chính cấp xã trước ngày 01/7/2025 |
Loại hình thống kê tổng hợp | loaiHinhThongKeTongHopID | Chuỗi ký tự | String | 1 | Là khóa ngoài liên kết bảng thông tin danh mục Loại hình thống kê tổng hợp (Giá trị 1: Nghèo đa chiều; Giá trị 2: Thiếu hụt dịch vụ xã hội cơ bản; Giá trị 3: Dân tộc thiểu số) |
Tổng số hộ nghèo | tongSoHoNgheo | Số nguyên | Interger | 10 | Tổng số hộ nghèo theo tiêu chí loại thông tin thống kê tổng hợp |
Tổng số hộ cận nghèo | tongSoHoCanNgheo | Số nguyên | Interger | 10 | Tổng số hộ cận nghèo theo tiêu chí loại thông tin thống kê tổng hợp |
Tỷ lệ hộ nghèo | tyLeHoNgheo | Số thực | Real |
| Tỷ lệ hộ nghèo theo xã thống kê tổng hợp |
Tỷ lệ hộ cận nghèo | tyLeHoCanNgheo | Số thực | Real |
| Tỷ lệ hộ cận nghèo theo xã thống kê tổng hợp |
Tổng dân số theo loại hình thống kê | tongDanSoThongKe | Số nguyên | Interger | 12 | Tổng dân số theo loại hình thống kê |
Thời gian thực hiện | thoiGianThucHien | Ngày tháng | Date/Integer | 10 | Thời điểm thống kê tổng hợp (dd/mm/yyyy) |
Dữ liệu đồ hoạ | geo | Dữ liệu dạng vùng | GM_Polygon |
| Là dữ liệu đồ hoạ của đối tượng |
3.2. Nhóm dữ liệu chuyên đề phân tích, đánh giá
3.2.1. Lớp dữ liệu phân tích đánh giá mức độ tổn thương hộ gia đình bởi thiệt hại do hạn hán
Tên lớp dữ liệu: DanhGiaMucDoTonThuongDoHanHanDangVung
Kiểu dữ liệu không gian: Dữ liệu dạng vùng (GM_Polygon)
Trường thông tin | Kiểu dữ liệu | Độ dài | Mô tả | ||
Thông tin | Tên trường thông tin | Tiếng Việt | Tiếng Anh | ||
Mã đối tượng | danhGiaTonThuongHanHanID | Chuỗi ký tự | String |
| Là dãy ký tự xác định duy nhất đối tượng, được khởi tạo tự động và sử dụng làm khóa chính. |
Dữ liệu hạn hán phục vụ đánh giá | duLieuHanHan | Chuỗi ký tự | String | 255 | Đóng vai trò là dữ liệu đầu vào thông tin về hạn hán phục vụ phân tích, đánh giá tổn thương hộ gia đình cấp vùng. |
Dữ liệu hạn hán ảnh hưởng đến Hộ gia đình | duLieuTongHopHanHan | Chuỗi ký tự | String | 255 | Dữ liệu tổng hợp liên kết hộ gia đình trong phạm vi đánh giá |
Chỉ số tổn thương | chiSoTonThuongHanHan | Số thực | Real |
| Chỉ số tổn thương theo loại hình hạn hán |
Dữ liệu đồ hoạ | geo | Dữ liệu dạng vùng | GM_polygon |
| Là dữ liệu đồ hoạ của đối tượng |
3.2.2. Lớp dữ liệu phân tích đánh giá mức độ tổn thương hộ gia đình bởi thiệt hại do ngập lụt
Tên lớp dữ liệu: DanhGiaMucDoTonThuongDoNgapLutDangVung
Kiểu dữ liệu không gian: Dữ liệu dạng vùng (GM_Polygon)
Trường thông tin | Kiểu dữ liệu | Độ dài | Mô tả | ||
Thông tin | Tên trường thông tin | Tiếng Việt | Tiếng Anh | ||
Mã đối tượng | danhGiaTonThuongNgapLutID | Chuỗi ký tự | String |
| Là dãy ký tự xác định duy nhất đối tượng, được khởi tạo tự động và sử dụng làm khóa chính. |
Dữ liệu ngập lụt phục vụ đánh giá | duLieuNgapLut | Chuỗi ký tự | String | 255 | Đóng vai trò là dữ liệu đầu vào thông tin về ngập lụt phục vụ phân tích, đánh giá tổn thương hộ gia đình cấp vùng. |
Dữ liệu ngập lụt ảnh hưởng đến hộ gia đình | duLieuTongHopNgapLut | Chuỗi ký tự | String | 255 | Dữ liệu tổng hợp liên kết hộ gia đình trong phạm vi đánh giá |
Chỉ số tổn thương | chiSoTonThuongNgapLut | Số thực | Real |
| Chỉ số tổn thương theo loại hình ngập lụt |
Dữ liệu đồ hoạ | geo | Dữ liệu dạng vùng | GM_polygon |
| Là dữ liệu đồ hoạ của đối tượng |
3.2.3. Lớp dữ liệu phân tích đánh giá mức độ tổn thương hộ gia đình bởi thiệt hại do xâm nhập mặn
Tên lớp dữ liệu: DanhGiaMucDoTonThuongDoXamNhapManDangVung
Kiểu dữ liệu không gian: Dữ liệu dạng vùng (GM_polygon)
Trường thông tin | Kiểu dữ liệu | Độ dài | Mô tả | ||
Thông tin | Tên trường thông tin | Tiếng Việt | Tiếng Anh | ||
Mã đối tượng | danhGiaTonThuongXamNhapManID | Chuỗi ký tự | String |
| Là dãy ký tự xác định duy nhất đối tượng, được khởi tạo tự động và sử dụng làm khóa chính. |
Dữ liệu xâm nhập mặn phục vụ đánh giá | duLieuXamNhapMan | Chuỗi ký tự | String | 255 | Đóng vai trò là dữ liệu đầu vào thông tin về xâm nhập mặn phục vụ phân tích, đánh giá tổn thương hộ gia đình cấp vùng. |
Dữ liệu ngập lụt ảnh hưởng đến hộ gia đình | duLieuTongHopXamNhapMan | Chuỗi ký tự | String | 255 | Dữ liệu tổng hợp liên kết hộ gia đình trong phạm vi đánh giá |
Chỉ số tổn thương theo loại hình xâm nhập mặn | chiSoTonThuongXamNhapMan | Số thực | Real |
|
|
Dữ liệu đồ hoạ | geo | Dữ liệu dạng vùng | GM_polygon |
| Là dữ liệu đồ hoạ của đối tượng |
3.2.4. Lớp dữ liệu phân tích đánh giá mức độ tổn thương hộ gia đình bởi thiệt hại do xạt lở
Tên lớp dữ liệu: DanhGiaMucDoTonThuongDoXatLoDangVung
Kiểu dữ liệu không gian: Dữ liệu dạng vùng (GM_polygon)
Trường thông tin | Kiểu dữ liệu | Độ dài | Mô tả | ||
Thông tin | Tên trường thông tin | Tiếng Việt | Tiếng Anh | ||
Mã đối tượng | danhGiaTonThuongXatLoID | Chuỗi ký tự | String |
| Là dãy ký tự xác định duy nhất đối tượng, được khởi tạo tự động và sử dụng làm khóa chính. |
Dữ liệu xạt lở phục vụ đánh giá | duLieuXatLo | Chuỗi ký tự | String | 255 | Đóng vai trò là dữ liệu đầu vào thông tin về xạt lở phục vụ phân tích, đánh giá tổn thương hộ gia đình cấp vùng. |
Dữ liệu sạt lở ảnh hưởng đến hộ gia đình | duLieuTongHopSatLo | Chuỗi ký tự | String | 255 | Dữ liệu tổng hợp liên kết hộ gia đình trong phạm vi đánh giá |
Chỉ số tổn thương theo loại hình sạt lở | chiSoTonThuongSatLo | Số thực | Real |
|
|
Dữ liệu đồ họa | geo | Dữ liệu dạng vùng | GM_polygon |
| Là dữ liệu đồ họa của đối tượng |
4. Dữ liệu phi cấu trúc hộ nghèo, hộ cận nghèo
4.1. Tài liệu số lưu trữ thông tin hộ gia đình
Trường thông tin | Kiểu dữ liệu | Độ dài | Mô tả | ||
Thông tin | Tên trường thông tin | Tiếng Việt | Tiếng Anh | ||
Mã đối tượng | maGiayToHoGiaDinhID | Chuỗi ký tự | String |
| Là dãy ký tự xác định duy nhất đối tượng, được khởi tạo tự động và sử dụng làm khóa chính. |
Mã hồ sơ lưu trữ số | maHoSoID | Chuỗi ký tự | String |
| Khoá ngoại liên kết tới dữ liệu hồ sơ lưu trữ điện tử |
Hộ gia đình | hoGiaDinhID | Chuỗi ký tự | String |
| Khoá ngoại liên kết thông tin hộ gia đình |
Loại giấy tờ | loaiGiayTo | Chuỗi ký tự | String | 20 | Là tên loại giấy tờ tài liệu số lư trữ thông tin về hộ gia đình |
Tên giấy tờ | tenGiayTo | Chuỗi ký tự | String | 20 | Là tên giấy tờ tài liệu số lư trữ thông tin về hộ gia đình |
Ghi chú | ghiChu | Chuỗi ký tự | String | 200 | Thông tin ghi chú về giấy tờ |
Tên tập tin giấy tờ | tepTin | Chuỗi ký tự | String | 150 | Là tên tệp tin lưu trữu điện tử (dạng .pdf hoặc tương đương) |
Đường dẫn tệp tin | url | Chuỗi ký tự | String |
| Là đường dẫn tới địa chỉ lưu trữ tệp tin trong hệ thống thiết bị phần cứng lưu trữ dữ liệu (hoặc phần mềm lưu trữ tương đương) |
4.2. Nhóm thông tin dữ liệu chuyên đề báo cáo, thống kê tổng hợp
4.2.1. Thông tin báo cáo tổng hợp
Trường thông tin | Kiểu dữ liệu | Độ dài | Mô tả | ||
Thông tin | Tên trường thông tin | Tiếng Việt | Tiếng Anh | ||
Mã đối tượng | maGiayToBaoCaoTongHopID | Chuỗi ký tự | String |
| Là dãy ký tự xác định duy nhất đối tượng, được khởi tạo tự động và sử dụng làm khóa chính. |
Bộ số liệu thống kê tổng hợp | maBoSoLieu | Chuỗi ký tự | String |
| Khoá ngoại liên kết tới bộ dữ liệu báo cáo tổng hợp |
Thànhphần hồ sơ | thanhPhanHoSoID | Chuỗi ký tự | String |
| Liên kết tới thông tin thành phần hồ sơ |
4.2.2. Thông tin thành phần hồ sơ báo cáo lưu trữ
Trường thông tin | Kiểu dữ liệu | Độ dài | Mô tả | ||
Thông tin | Tên trường thông tin | Tiếng Việt | Tiếng Anh | ||
Mã đối tượng | thanhPhanHoSoID | Chuỗi ký tự | String |
| Là dãy ký tự xác định duy nhất đối tượng, được khởi tạo tự động và sử dụng làm khóa chính. |
Thông tin về thống kê tổng hợp | maGiayToBaoCaoTongHopID | Chuỗi ký tự | String |
|
|
Mã hồ sơ lưu trữ số | maHoSoID | Chuỗi ký tự | String |
| Khoá ngoại liên kết tới dữ liệu hồ sơ lưu trữ điện tử |
Loại giấy tờ | loaiGiayTo | Chuỗi ký tự | String | 20 | Là tên loại giấy tờ tài liệu số lư trữ thông tin về báo cáo thống kê tổng hợp |
Tên giấy tờ | tenGiayTo | Chuỗi ký tự | String | 20 | Là tên giấy tờ tài liệu số lư trữ thông tin về thống kê tổng hợp |
Tên tập tin giấy tờ | tepTin | Chuỗi ký tự | String | 150 | Là tên tệp tin lưu trữu điện tử (dạng .pdf hoặc tương đương) |
Đường dẫn tệp tin | url | Chuỗi ký tự | String |
| Là đường dẫn tới địa chỉ lưu trữ tệp tin trong hệ thống thiết bị phần cứng lưu trữ dữ liệu (hoặc phần mềm lưu trữ tương đương) |
4.3. Nhóm dữ liệu thủ tục hành chính
4.3.1. Dữ liệu thủ tục hành chính
Trường thông tin | Kiểu dữ liệu | Độ dài | Mô tả | ||
Thông tin | Tên trường thông tin | Tiếng Việt | Tiếng Anh | ||
Mã đối tượng | maGiayToHoSoTTHCID | Chuỗi ký tự | String |
| Là dãy ký tự xác định duy nhất đối tượng, được khởi tạo tự động và sử dụng làm khóa chính. |
Mã giao dịch TTHC | giaoDichTTHCID | Chuỗi ký tự | String |
| Liên kết tới dữ liệu hồ sơ đăng ký thủ tục hành chính |
Thành phần hồ sơ | thanhPhanHoSoID | Chuỗi ký tự | String |
| Liên kết tới thông tin thành phần hồ sơ |
4.3.2. Thông tin đăng ký thủ tục hành chính
Trường thông tin | Kiểu dữ liệu | Độ dài | Mô tả | ||
Thông tin | Tên trường thông tin | Tiếng Việt | Tiếng Anh | ||
Mã đối tượng | thanhPhanHoSoID | Chuỗi ký tự | String |
| Là dãy ký tự xác định duy nhất đối tượng, được khởi tạo tự động và sử dụng làm khóa chính. |
Thông tin về lưu trữ theo hồ sơ đăng ký TTHC | maGiayToHoSoTTHCID | Chuỗi ký tự | String |
|
|
Mã hồ sơ lưu trữ số | maHoSoID | Chuỗi ký tự | String |
| Khoá ngoại liên kết tới dữ liệu hồ sơ lưu trữ điện tử |
Loại giấy tờ | loaiGiayTo | Chuỗi ký tự | String | 20 | Là tên loại giấy tờ tài liệu số lư trữ thông tin về báo cáo thống kê tổng hợp |
Tên giấy tờ | tenGiayTo | Chuỗi ký tự | String | 20 | Là tên giấy tờ tài liệu số lư trữ thông tin về thống kê tổng hợp |
Tên tập tin giấy tờ | tepTin | Chuỗi ký tự | String | 150 | Là tên tệp tin lưu trữu điện tử (dạng .pdf hoặc tương đương) |
Đường dẫn tệp tin | url | Chuỗi ký tự | String |
| Là đường dẫn tới địa chỉ lưu trữ tệp tin trong hệ thống thiết bị phần cứng lưu trữ dữ liệu (hoặc phần mềm lưu trữ tương đương) |
III. Cấu trúc, kiểu thông tin siêu dữ liệu hộ nghèo, hộ cận nghèo
1. Mô hình tổng quát

Siêu dữ liệu hộ nghèo, hộ cận nghèo bao gồm các nhóm thông tin:
- Nhóm thông tin chung về siêu dữ liệu hộ nghèo, hộ cận nghèo;
- Nhóm thông tin mô tả hệ quy chiếu tọa độ;
- Nhóm thông tin mô tả dữ liệu hộ nghèo, hộ cận nghèo;
- Nhóm thông tin mô tả chất lượng dữ liệu hộ nghèo, hộ cận nghèo;
- Nhóm thông tin mô tả phương thức chia sẻ dữ liệu hộ nghèo, hộ cận nghèo.
Siêu dữ liệu hộ nghèo, hộ cận nghèo được lập cho phạm vi cơ sở dữ liệu hộ nghèo, hộ cận nghèo đã được xây dựng và được cập nhật khi có thay đổi thông tin.
2. Cấu trúc, kiểu thông tin siêu dữ liệu hộ nghèo, hộ cận nghèo
2.1. Nhóm thông tin chung về siêu dữ liệu
2.1.1. Dữ liệu chung
Tên bảng dữ liệu: DM_SieuDuLieu
Trường thông tin | Kiểu dữ liệu | Mô tả | ||
Thông tin | Tên trường | Tiếng Việt | Tiếng Anh | |
Mã đối tượng | sieuDuLieuID | Chuỗi ký tự | String | Là dãy ký tự xác định duy nhất đối tượng, được khởi tạo tự động và sử dụng làm khóa chính. |
Loại cấp độ siêu dữ liệu | loaiCapDoSDL | Chuỗi ký tự | String | Là mã hoặc giá trị trong bảng danh mục về siêu dữ liệu |
Loại dữ liệu | loaiDuLieu | Chuỗi ký tự | String | Là mã hoặc giá trị trong bảng danh mục về siêu dữ liệu |
Loại siêu dữ liệu | loaiSieuDuLieu | Chuỗi ký tự | String | Là mã hoặc giá trị trong danh mục về siêu dữ liệu |
Ngôn ngữ | ngonNgu | Chuỗi ký tự | String | Là ngôn ngữ chính thức được sử dụng trong thông tin mô tả của siêu dữ liệu |
Phạm vi | phamVi | Chuỗi ký tự | String | Là phạm vi dữ liệu hộ nghèo, hộ cận nghèo mà siêu dữ liệu mô tả |
Phiên bản | phienBan | Chuỗi ký tự | String | Là phiên bản của chuẩn siêu dữ liệu được áp dụng để lập siêu dữ liệu |
Siêu dữ liệu gốc | sieuDuLieuIDGoc | Chuỗi ký tự | String | Là mã nhận dạng duy nhất được gán cho mỗi tài liệu siêu dữ liệu |
Tên chuẩn | tenChuan | Chuỗi ký tự | String | Là tên đầy đủ của chuẩn siêu dữ liệu được áp dụng để lập siêu dữ liệu |
Thời gian lập | thoiGianLap | Ngày, tháng | Date | Là ngày lập siêu dữ liệu (dd/mm/yyyy) |
2.1.2. Dữ liệu về đơn vị
Tên bảng dữ liệu: DM_DonVi
Trường thông tin | Kiểu dữ liệu | Mô tả | ||
Thông tin | Tên trường thông tin | Tiếng Việt | Tiếng Anh | |
Mã đối tượng | sieuDuLieuDVID | Chuỗi ký tự | String | Là dãy ký tự xác định duy nhất đối tượng, được khởi tạo tự động và sử dụng làm khóa chính. |
Chức vụ | chucVu | Chuỗi ký tự | String | Chức vụ của người đại diện cho cơ quan, tổ chức có liên quan đến dữ liệu hộ nghèo, hộ cận nghèo. |
Địa chỉ | diaChiLienHe | Chuỗi ký tự | String | Là địa chỉ liên hệ của đơn vị |
Điện thoại | dienThoai | Chuỗi ký tự | String | Là số điện thoại liên hệ của đơn vị |
Chỉ dẫn liên hệ | chiDanLienHe | Chuỗi ký tự | String | Các chỉ dẫn bổ sung nhằm giúp cho người có nhu cầu có thể liên hệ với các cơ quan, tổ chức có liên quan đến dữ liệu hộ nghèo, hộ cận nghèo. |
Chuỗi ký tự | String | Địa chỉ thư điện tử | ||
Loại đơn vị | loaiDonVi | Chuỗi ký tự | String | Là mã hoặc giá trị trong bảng danh mục về siêu dữ liệu |
Mô tả | moTa | Chuỗi ký tự | String | Vai trò của cơ quan, tổ chức có liên quan đến dữ liệu hộ nghèo, hộ cận nghèo. |
Người đại diện | nguoiDaiDien | Chuỗi ký tự | String | Tên của người đại diện cho cơ quan, tổ chức có liên quan đến dữ liệu hộ nghèo, hộ cận nghèo |
Số giấy phép | soGiayPhep | Chuỗi ký tự | String | Số giấy phép kinh doanh của đơn vị |
Tên đơn vị | tenDonVi | Chuỗi ký tự | String | Tên của cơ quan, tổ chức có liên quan đến dữ liệu hộ nghèo, hộ cận nghèo |
Thông tin liên hệ | thongTinLienHe | Chuỗi ký tự | String | Địa chỉ chi tiết trang web, địa chỉ tỉnh, huyện, xã nơi đặt trụ sở của cơ quan, tổ chức có liên quan đến dữ liệu hộ nghèo, hộ cận nghèo |
2.2. Nhóm thông mô tả hệ quy chiếu
Tên bảng dữ liệu: DM_HeToaDo
Trường thông tin | Kiểu dữ liệu | Mô tả | ||
Thông tin | Tên trường thông tin | Tiếng Việt | Tiếng Anh | |
Mã đối tượng | maDoiTuongID | Chuỗi ký tự | String | Là dãy ký tự xác định duy nhất đối tượng, được khởi tạo tự động và sử dụng làm khóa chính. |
Kinh tuyến trục | kinhTuyenTruc | Chuỗi ký tự | String | Là kinh tuyến trục được áp dụng để xây dựng dữ liệu hộ nghèo, hộ cận nghèo |
Kích thước múi chiếu | muiChieu | Số thực | Real | Là kích thước múi chiếu được áp dụng để xây dựng dữ liệu hộ nghèo, hộ cận nghèo (6 độ, 3 độ, 1,5 độ). |
Tên hệ quy chiếu | tenHeQuyChieu | Chuỗi ký tự | String | Tên đầy đủ của Hệ quy chiếu tọa độ (nếu khác Hệ tọa độ quốc gia VN- 2000). |
2.3. Nhóm thông tin mô tả dữ liệu hộ nghèo, hộ cận nghèo
2.3.1. Thông tin mô tả về dữ liệu thuộc tính hộ nghèo, hộ cận nghèo
Tên bảng dữ liệu: DM_ThuocTinhHoGiaDinh
Trường thông tin | Kiểu dữ liệu | Mô tả | ||
Thông tin | Tên trường | Tiếng Việt | Tiếng Anh | |
Mã đối tượng | maDoiTuongID | Chuỗi ký tự | String | Là dãy ký tự xác định duy nhất đối tượng, được khởi tạo tự động và sử dụng làm khóa chính. |
Đinh dạng dữ liệu | dinhDangDuLieu | Chuỗi ký tự | String | Là tên định dạng của loại dữ liệu được miêu tả |
Mô tả | moTa | Chuỗi ký tự | String | Là mô tả bổ sung của tài liệu |
Nguồn gốc | nguonGocDuLieu | Chuỗi ký tự | String | Là nguồn gốc để xây dựng dữ liệu |
Mã siêu dữ liệu | sieuDuLieuID | Chuỗi ký tự | String | Là khóa ngoại liên kết đến dữ liệu thông tin chung về siêu dữ liệu |
Số lượng đối tượng | soLuongDoiTuong | Số nguyên | Integer | Là số lượng đối tượng được xây dựng siêu dữ liệu |
Thời điểm hình thành | thoiDiemHinhThanh | Ngày, tháng | Date | Là thời điểm xây dựng dữ liệu (dd/mm/yyyy) |
2.3.2. Thông tin mô tả về dữ liệu không gian hộ nghèo, hộ cận nghèo
Tên bảng dữ liệu: DM_KhongGianHoGiaDinh
Trường thông tin | Kiểu dữ liệu | Mô tả | ||
Thông tin | Ký hiệu trường thông tin | Tiếng Việt | Tiếng Anh | |
Mã đối tượng | maDoiTuongID | Chuỗi ký tự | String | Là dãy ký tự xác định duy nhất đối tượng, được khởi tạo tự động và sử dụng làm khóa chính. |
Định dạng dữ liệu | dinhDangDuLieu | Chuỗi ký tự | String | Là định dạng dữ liệu được mô tả |
Mã Hệ quy chiếu | heQuyChieuID | Chuỗi ký tự | String | Là khóa ngoại liên kết đến dữ liệu hệ quy chiếu |
Kiểu dữ liệu không gian | kieuDuLieuKhongGian | Chuỗi ký tự | String | Là kiểu dữ liệu không gian dạng điểm, đường hoặc vùng |
Mô tả | moTa | Chuỗi ký tự | String | Là thông tin mô tả bổ sung cho dữ liệu không gian |
Nguồn gốc dữ liệu | nguonGocDuLieu | Chuỗi ký tự | String | Là nguồn gốc của dữ liệu được mô tả |
Phương pháp tạo lập | phuongPhapTaoLap | Chuỗi ký tự | String | Là phương pháp tạo lập cho dữ liệu được mô tả |
Mã siêu dữ liệu | sieuDuLieuID | Chuỗi ký tự | String | Là khóa ngoại liên kết đến dữ liệu thông tin chung về siêu dữ liệu |
Số lượng đối tượng | soLuongDoiTuong | Số nguyên | Integer | Là số lượng đối tượng được mô tả |
Thời điểm hình thành | thoiDiemHinhThanh | Ngày, tháng | Date | Là thời điểm hình thành dữ liệu (dd/mm/yyyy) |
Tọa độ giới hạn X max | toaDoGioiHanXMax | Số thực | Real | Là giới hạn tọa độ theo trục không gian X |
Tọa độ giới hạn X min | toaDoGioiHanXMin | Số thực | Real | Là giới hạn tọa độ theo trục không gian X |
Tọa độ giới hạn Y max | toaDoGioiHanYMax | Số thực | Real | Là giới hạn tọa độ theo trục không gian Y |
Tọa độ giới hạn Y min | toaDoGioiHanYMin | Số thực | Real | Là giới hạn tọa độ theo trục không gian Y |
Tỷ lệ bản đồ | tyLeBanDo | Chuỗi ký tự | String | Là tỷ lệ bản đồ được xây dựng dữ liệu |
2.3.2. Thông tin mô tả về dữ liệu phi cấu trúc hộ nghèo, hộ cận nghèo
Tên bảng dữ liệu: DM_PhiCauTrucHoGiaDinh
Trường thông tin | Kiểu dữ liệu | Mô tả | ||
Thông tin | Tên trường thông tin | Tiếng Việt | Tiếng Anh | |
Mã đối tượng | maDoiTuongID | Chuỗi ký tự | String | Là dãy ký tự xác định duy nhất đối tượng, được khởi tạo tự động và sử dụng làm khóa chính. |
Định dạng dữ liệu | dinhDangDuLieu | Chuỗi ký tự | String | Là định dạng dữ liệu (ví dụ: PDF,TIF,DOC..) |
Mô tả | moTa | Chuỗi ký tự | String | Là mô tả bổ sung cho tài liệu |
Nguồn gốc dữ liệu | nguonGocDuLieu | Chuỗi ký tự | String | Là nguồn gốc để xây dựng dữ liệu |
Mã siêu dữ liệu | sieuDuLieuID | Chuỗi ký tự | String | Là khóa ngoại liên kết đến dữ liệu thông tin chung về siêu dữ liệu |
Số lượng đối tượng | soLuongDoiTuong | Số nguyên | Integer | Là số lượng đối tượng được mô tả |
Thời điểm hình thành | thoiDiemHinhThanh | Ngày, tháng | Date | Là thời điểm hình thành dữ liệu (dd/mm/yyyy) |
2.4. Nhóm thông mô tả chất lượng dữ liệu
Tên bảng dữ liệu: DM_ChatLuongDuLieu
Trường thông tin | Kiểu dữ liệu | Mô tả | ||
Thông tin | Tên trường thông tin | Tiếng Việt | Tiếng Anh | |
Mã đối tượng | maDoiTuongID | Chuỗi ký tự | String | Là dãy ký tự xác định duy nhất đối tượng, được khởi tạo tự động và sử dụng làm khóa chính. |
Ghi chú | ghiChu | Chuỗi ký tự | String | Mô tả bổ sung về kết quả chất lượng, phạm vi sản phẩm về dữ liệu hộ nghèo, hộ cận nghèo được đánh giá chất lượng theo không gian và thời gian |
Kết quả đánh giá | ketQuaDanhGia | Chuỗi ký tự | String | Là kết quả đánh giá của chất lượng dữ liệu |
Loại dữ liệu | loaiDuLieu | Chuỗi ký tự | String | Loại dữ liệu được đánh giá trong bảng danh mục về siêu dữ liệu |
Mức độ đánh giá | mucDoDanhGia | Chuỗi ký tự | String | Đánh giá chất lượng dữ liệu theo danh mục mức đánh giá chất lượng dữ liệu. (ví dụ: 30%) |
Mức độ đầy đủ thông tin | muaDoDayDuTT | Chuỗi ký tự | String | Đánh giá chất lượng dữ liệu theo mức độ đầy đủ của thông tin |
Phương pháp đánh giá chất lượng | phuongPhapDGCL | Chuỗi ký tự | String | Là Loại phương pháp được sử dụng để đánh giá một chỉ tiêu chất lượng nhất định, ví dụ: theo phương pháp đánh giá mức độ đầy đủ thông tin |
Mã siêu dữ liệu | sieuDuLieuID | Chuỗi ký tự | String | Là khóa ngoại liên kết đến dữ liệu thông tin về siêu dữ liệu |
Số lượng đánh giá | soLuongDanhGia | Số nguyên | Integer | Số lượng được đánh giá |
Thời điểm đánh giá | thoiDiemDanhGia | Ngày, tháng | Date | Là thời điểm đánh giá dữ liệu (dd/mm/yyyy) |
2.5. Nhóm thông mô tả phương thức chia sẻ dữ liệu hộ nghèo, hộ cận nghèo
Tên bảng dữ liệu: DM_PhuongThucChiaSe
Trường thông tin | Kiểu dữ liệu | Mô tả | ||
Thông tin | Tên trường thông tin | Tiếng Việt | Tiếng Anh | |
Mã đối tượng | maDoiTuongID |
| String | Là dãy ký tự xác định duy nhất đối tượng, được khởi tạo tự động và sử dụng làm khóa chính. |
Chi tiết phân phối | chiTietPhanPhoi |
| String | Địa chỉ liên kết trực tuyến hoặc phi trực tuyến |
Dạng phân phối | dinhDangPhanPhoi | Chuỗi ký tự | String | Định dạng file phân phối, trao đổi |
Ghi chú | ghiChu | Chuỗi ký tự | String | Bổ sung về đường liên kết trực tuyến hoặc Các ghi chú bổ sung về phương pháp lưu trữ (nếu có) |
Hình thức phân phối | hinhThucPhanPhoi | Chuỗi ký tự | String | Cách thức phân phối trực tuyến hoặc phi trực tuyến |
Loại dữ liệu | loaiDuLieuID | Chuỗi ký tự | String | Là mã hoặc giá trị của trong bảng danh mục loại dữ liệu |
Phiên bản | phienBan | Chuỗi ký tự | String | Loại phiên bản định dạng lưu trữ dữ liệu hộ nghèo, hộ cận nghèo |
Mã siêu dữ liệu | sieuDuLieuID | Chuỗi ký tự | String | Là khóa ngoại liên kết đến dữ liệu thông tin chung về siêu dữ liệu |
Tên tài liệu | tenTaiLieu | Chuỗi ký tự | String | Tên của định dạng lưu trữ dữ liệu hộ nghèo, hộ cận nghèo |